专利状态
一种加热式坚果入味用煮锅
专利申请进度
申请
2018-12-18
授权
2019-08-27
预估到期
2028-12-18
专利基础信息
申请号 申请日
授权公布号 授权公告日
分类号
分类
申请人名称 杭州勤耕食品科技有限公司
申请人地址
专利法律状态
  • 2019-08-27
    授权
    状态信息
    授权
摘要
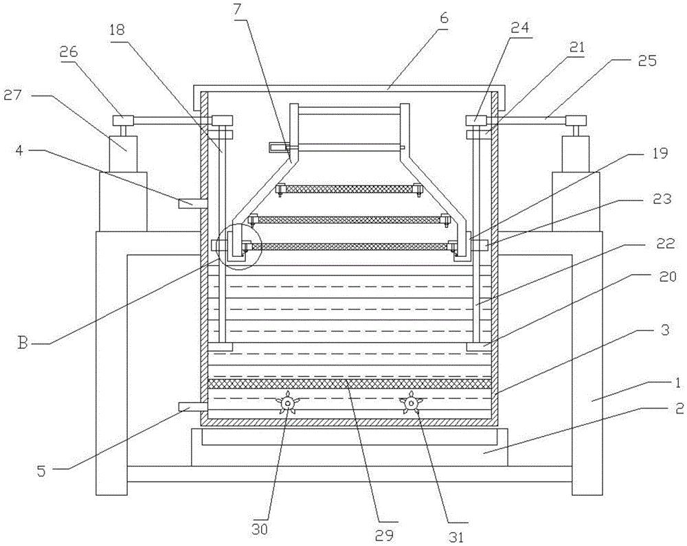
本实用新型针对上述问题提出了一种加热式坚果入味用煮锅,包括固定支架、煮锅、升降机构和燃气炉;煮锅包括锅体,锅体中设有顶部开口的蒸煮腔,锅体的侧壁上设有进液口和出液口,进液口位于出液口的上方,锅体的顶部设有盖板,蒸煮机构通过升降机构可升降的设置在蒸煮腔中;本实用新型能够使坚果在蒸煮过程中充分入味,降低了劳动强度。

返回首页 | 品牌大全 | 品牌排行 | 品牌问答 | 品牌资讯 | 品牌价值 | 关于我们 | 联系我们 | 免责声明

Copyright 2013-2020 品牌门户,牌子123(www.paizi123.cn) 版权所有 备案号:苏ICP备13009020号-7

网站地图