专利状态
一种设在传送带清洁车上的浮动吸水装置
专利申请进度
申请
2013-08-03
申请公布
2013-11-20
授权
2015-04-22
预估到期
2033-08-03
专利基础信息
申请号 申请日
授权公布号 授权公告日
分类号
分类
申请人名称 安徽三只松鼠电子商务有限公司
申请人地址
专利法律状态
  • 2016-06-01
    专利权人的姓名或者名称、地址的变更
    状态信息
    专利权人的姓名或者名称、地址的变更;IPC(主分类):B08B13/00;变更事项:专利权人;变更前:安徽三只松鼠电子商务有限公司;变更后:三只松鼠股份有限公司;变更事项:地址;变更前:241000 安徽省芜湖市弋江区高新技术产业开发区西山路38号;变更后:241000 安徽省芜湖市弋江区芜湖高新技术产业开发区久盛路8号
  • 2015-04-22
    授权
    状态信息
    授权
  • 2013-12-18
    实质审查的生效
    状态信息
    实质审查的生效;IPC(主分类):B08B13/00;申请日:20130803
  • 2013-11-20
    公布
    状态信息
    公布
摘要
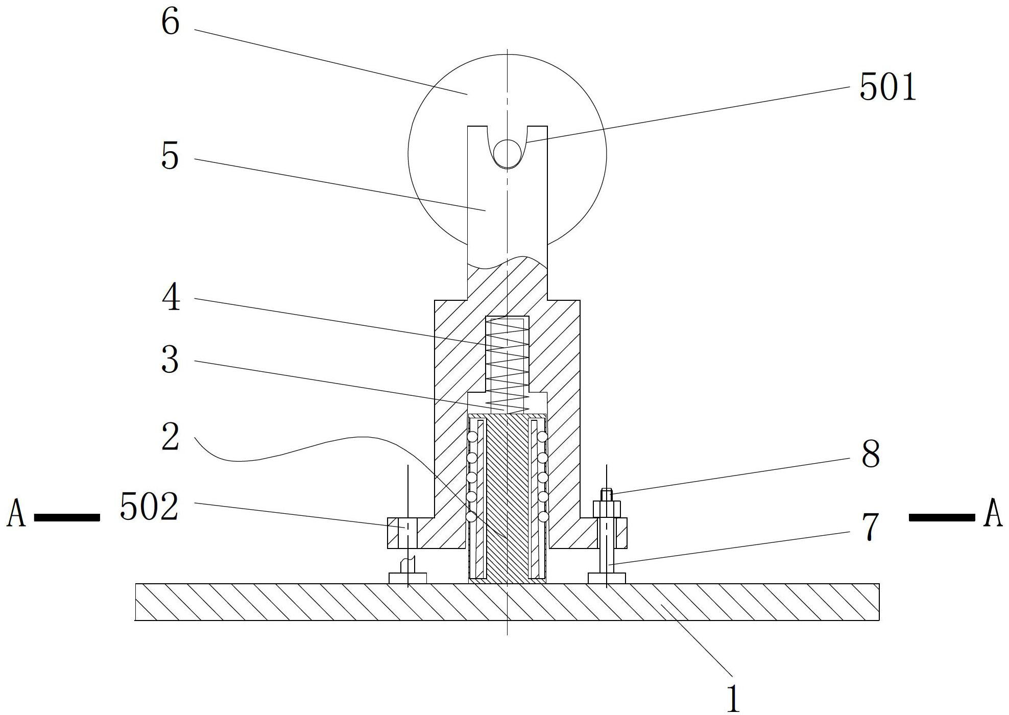
本发明提供一种设在传送带清洁车上的浮动吸水装置,包括底板,所述的底板上设有导向螺栓,所述的导向螺栓头部连接有螺母,所述的底板上对称固定有两个定位柱;所述的定位柱由柱体、涨紧套和滚珠组成,所述的涨紧套放置在柱体的内腔中,所述的滚珠位于涨紧套外圆面与柱体内腔表面之间;所述的定位柱上方焊接有导向柱;所述的导向柱外侧设置有压簧;所述的压簧外侧套有支座;所述的支座上方设有U型槽,其U型槽内放置有吸水滚柱,所述的支座外侧环形均布有通孔。本发明具有结构巧妙、控制方便和高度可调节等优点,能实现浮动的功能,有效的控制清洁车与传送带表面之间的相互位置和相互作用力。

返回首页 | 品牌大全 | 品牌排行 | 品牌问答 | 品牌资讯 | 品牌价值 | 关于我们 | 联系我们 | 免责声明

Copyright 2013-2020 品牌门户,牌子123(www.paizi123.cn) 版权所有 备案号:苏ICP备13009020号-7

网站地图