专利状态
一种用于袋装食品紧实机的缓冲压平装置
专利申请进度
申请
2013-10-22
申请公布
2014-01-22
授权
2015-04-22
预估到期
2033-10-22
专利基础信息
申请号 申请日
授权公布号 授权公告日
分类号
分类
申请人名称 安徽三只松鼠电子商务有限公司
申请人地址
专利法律状态
  • 2016-06-01
    专利权人的姓名或者名称、地址的变更
    状态信息
    专利权人的姓名或者名称、地址的变更;IPC(主分类):B65B61/00;变更事项:专利权人;变更前:安徽三只松鼠电子商务有限公司;变更后:三只松鼠股份有限公司;变更事项:地址;变更前:241000 安徽省芜湖市弋江区高新技术产业开发区西山路38号;变更后:241000 安徽省芜湖市弋江区芜湖高新技术产业开发区久盛路8号
  • 2015-04-22
    授权
    状态信息
    授权
  • 2014-02-26
    实质审查的生效
    状态信息
    实质审查的生效;IPC(主分类):B65B61/00;申请日:20131022
  • 2014-01-22
    公布
    状态信息
    公布
摘要
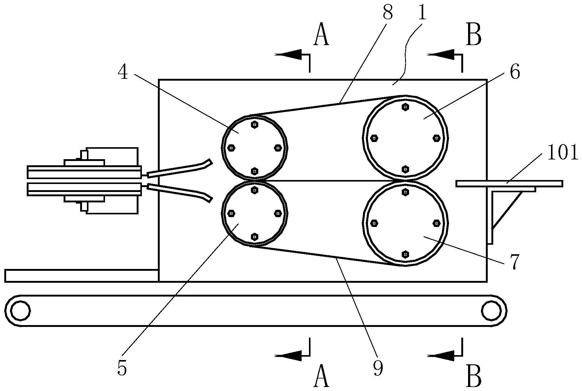
本发明涉及一种用于袋装食品紧实机的缓冲压平装置,其包括上主动缓冲传动组件、下主动缓冲传动组件、上从动缓冲传动组件、下从动缓冲传动组件、上压平带、下压平带、双电机连接套、平衡拉簧Ⅰ和两个平衡拉簧Ⅱ,上主动缓冲传动组件与上从动缓冲传动组件通过上压平带相连,下主动缓冲传动组件与下从动缓冲传动组件通过下压平带相连,上主动缓冲传动组件与下主动缓冲传动组件通过平衡拉簧Ⅰ和双电机连接套相连,上从动缓冲传动组件与下从动缓冲传动组件通过两个平衡拉簧Ⅱ相连。本发明具有设计合理和操作简单等优点,有助于增强缓冲减振的效果,最终延长机器的使用寿命。

返回首页 | 品牌大全 | 品牌排行 | 品牌问答 | 品牌资讯 | 品牌价值 | 关于我们 | 联系我们 | 免责声明

Copyright 2013-2020 品牌门户,牌子123(www.paizi123.cn) 版权所有 备案号:苏ICP备13009020号-7

网站地图