专利状态
一种大数据服务器散热装置
专利申请进度
申请
2020-07-06
授权
2021-04-23
预估到期
2030-07-06
专利基础信息
申请号 申请日
授权公布号 授权公告日
分类号
分类
申请人名称 北京神州数码云科信息技术有限公司
申请人地址
专利法律状态
  • 2021-04-23
    授权
    状态信息
    授权
摘要
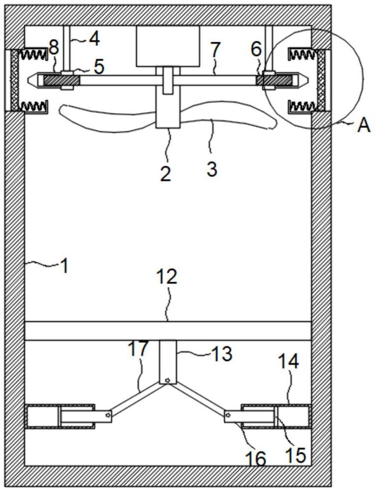
本实用新型公开了一种大数据服务器散热装置,包括壳体,所述壳体内设有电机,所述电机输出端固定连接有蜗杆,所述壳体上对称滑动连接有连接杆,所述连接杆上固定连接有往复丝杠套,所述往复丝杠套上固定连接有抵杆,所述往复丝杠套上螺纹连接有往复丝杠,两个所述往复丝杠之间固定连接有转轴,所述转轴上固定连接有蜗轮,所述壳体上对称设有散热口,所述散热口内壁上滑动连接有滤网,所述壳体内对称固定连接有四块L形挡板,所述L形挡板内壁与滤网之间固定连接有弹簧。本实用新型时启动电机,蜗杆转动带动蜗轮转动,带动抵杆左右运动,使得滤网左右运动产生震动,将滤网上的灰尘震落。

返回首页 | 品牌大全 | 品牌排行 | 品牌问答 | 品牌资讯 | 品牌价值 | 关于我们 | 联系我们 | 免责声明

Copyright 2013-2020 品牌门户,牌子123(www.paizi123.cn) 版权所有 备案号:苏ICP备13009020号-7

网站地图