专利状态
一种散热性能好的交换机外壳
专利申请进度
申请
2020-10-16
授权
2021-05-04
预估到期
2030-10-16
专利基础信息
申请号 申请日
授权公布号 授权公告日
分类号
分类
申请人名称 北京神州数码云科信息技术有限公司
申请人地址
专利法律状态
  • 2021-05-04
    授权
    状态信息
    授权
摘要
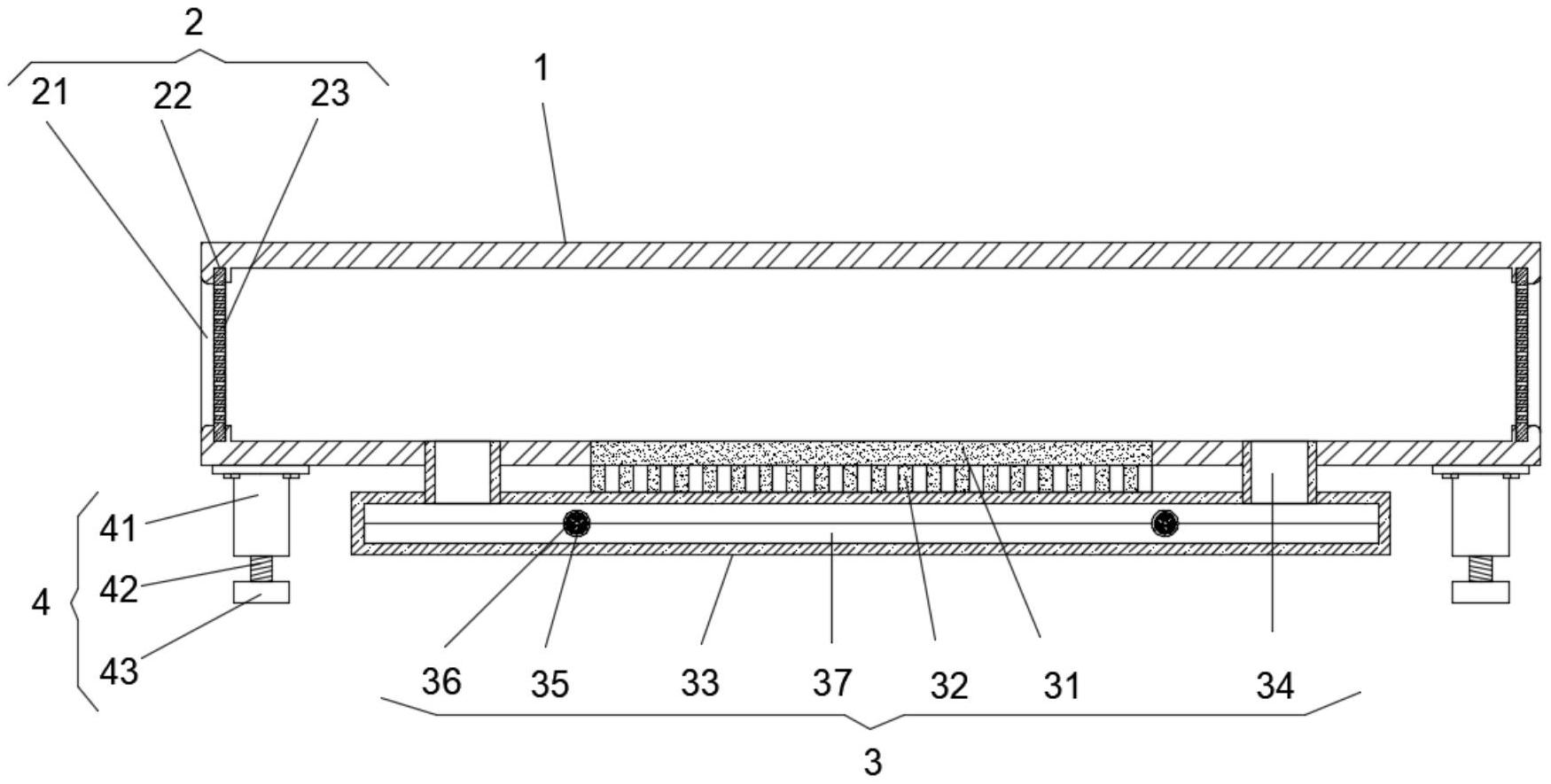
本实用新型公开了一种散热性能好的交换机外壳,交换机外壳的左右侧壁均装配有可拆卸式网板散热结构,交换机外壳的底面中部固定装配有抽气式散热结构,交换机外壳底面四角处均可拆卸式固定装配有调节支腿;方案采中四个调节支腿可以独立调节高度,可以在地面不平的环境中保证交换机水平放置工作,同时可以调节交换机与底面之间的高度,例如在潮湿环境使用时,将交换机与底面高度调到最大距离,减少潮气对交换机的影响;方案采用可拆卸式网板散热结构和抽气式散热结构配合使用,对交换机内部进行抽气式散热,将交换机内部热量从下端抽出,同时外界空气形成风从交换机内部流过,带走器件工作散发的热量,提高散热效果。

返回首页 | 品牌大全 | 品牌排行 | 品牌问答 | 品牌资讯 | 品牌价值 | 关于我们 | 联系我们 | 免责声明

Copyright 2013-2020 品牌门户,牌子123(www.paizi123.cn) 版权所有 备案号:苏ICP备13009020号-7

网站地图