专利状态
一种移动电源自动化物料位置纠正装置
专利申请进度
申请
2021-04-26
授权
2021-11-30
预估到期
2031-04-26
专利基础信息
申请号 申请日
授权公布号 授权公告日
分类号
分类
申请人名称 深圳市华美兴泰科技股份有限公司
申请人地址
专利法律状态
  • 2021-11-30
    授权
    状态信息
    授权
摘要
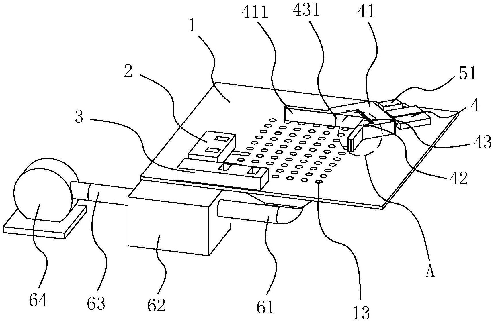
本申请涉及一种移动电源自动化物料位置纠正装置,其包括物料板,物料板靠近一角位置处连接有第一限位块和第二限位块,第一限位块和第二限位块相互垂直形成直角设置,物料板远离第一限位块位置处固定连接有气缸,气缸的活塞杆沿物料板对角线方向设置,气缸的活塞杆固定连接有校正块,校正块靠近第一限位块位置处开设有L形校正槽,校正块对应L形校正槽内开设有连接槽,校正块对应连接槽内连接有推送块,推送块靠近第一限位块一侧开设有L形推送槽,本申请具有便于用户校正定位不同的移动电源物料,提高精准性,保证机械手臂正常工作的效果。

返回首页 | 品牌大全 | 品牌排行 | 品牌问答 | 品牌资讯 | 品牌价值 | 关于我们 | 联系我们 | 免责声明

Copyright 2013-2020 品牌门户,牌子123(www.paizi123.cn) 版权所有 备案号:苏ICP备13009020号-7

网站地图