专利状态
一种移动电源生产线的自动锁螺丝装置
专利申请进度
申请
2021-05-14
授权
2022-02-08
预估到期
2031-05-14
专利基础信息
申请号 申请日
授权公布号 授权公告日
分类号
分类
申请人名称 深圳市华美兴泰科技股份有限公司
申请人地址
专利法律状态
  • 2022-02-08
    授权
    状态信息
    授权
摘要
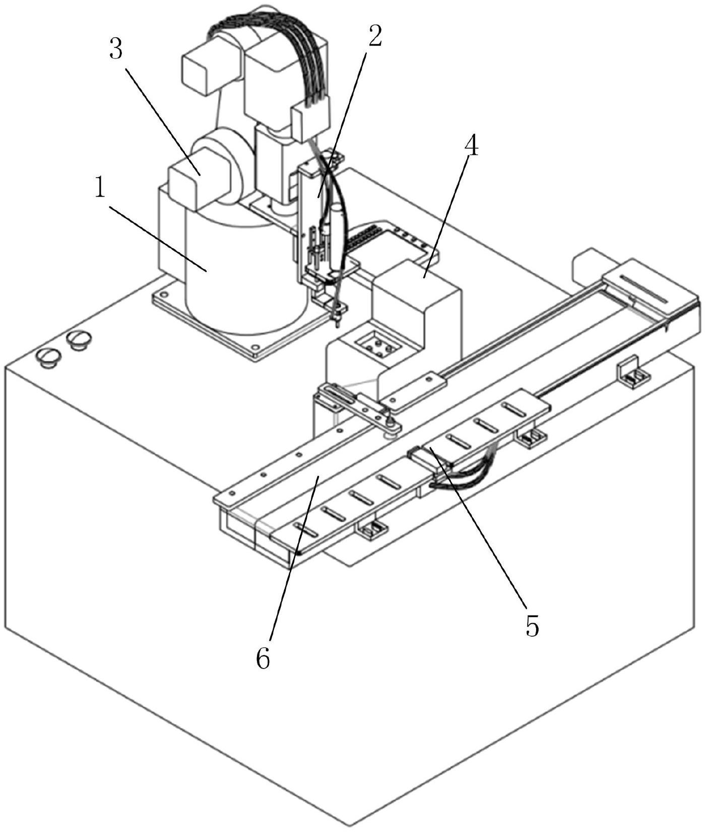
本实用新型提供了一种移动电源生产线的自动锁螺丝装置,涉及自动化机械技术领域,包括锁螺丝底座、螺丝锁付模组、机械臂、螺丝供料组件、定位装置以及传输机构,锁螺丝底座设置于的传输机构一侧,螺丝供料模组位于传输机构与锁螺丝底座之间;定位装置可活动地设置于传输机构上;机械臂的一端与锁螺丝底座转动连接,机械臂的另一端与螺丝锁付模组转动连接,通过控制机械臂移动螺丝锁付模组到达预定位置,以带动螺丝锁付模组上的锁紧螺丝与移动电源上电路板或安装壳的螺丝孔相紧固。通过本实用新型解决了传统人工手动锁螺丝效率低的问题。

返回首页 | 品牌大全 | 品牌排行 | 品牌问答 | 品牌资讯 | 品牌价值 | 关于我们 | 联系我们 | 免责声明

Copyright 2013-2020 品牌门户,牌子123(www.paizi123.cn) 版权所有 备案号:苏ICP备13009020号-7

网站地图