专利状态
一种单推杆液压推动器
专利申请进度
申请
2019-11-20
授权
2020-07-03
预估到期
2029-11-20
专利基础信息
申请号 申请日
授权公布号 授权公告日
分类号
分类
申请人名称 焦作市银星制动器有限公司
申请人地址
专利法律状态
  • 2020-07-03
    授权
    状态信息
    授权
摘要
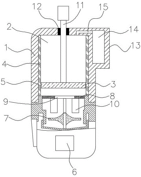
本实用新型公开了一种单推杆液压推动器,包括活塞缸,所述活塞缸内设有工作仓,所述活塞缸的底端固定连接有电机壳,所述电机壳内安装有电机,所述电机的输出轴贯穿活塞缸的底端并固定连接有油泵叶轮,且电机的输出轴与工作仓密封转动连接。本实用新型可增强其密封性能和活塞在工作仓内运动时的导向作用,减少摩擦力,延长使用寿命;在工作仓内底部泵入液压油后,活塞在向上运动的过程中,工作仓内活塞上端空气通过连接通道压缩至压缩气室内,避免缩短活塞杆的行程;将油泵叶轮旋转离心力分离的液压油有旋转流向变为直线向上流,从而使活塞的上升速度加快,更为平稳,推力增大且匀速向上提升。

返回首页 | 品牌大全 | 品牌排行 | 品牌问答 | 品牌资讯 | 品牌价值 | 关于我们 | 联系我们 | 免责声明

Copyright 2013-2020 品牌门户,牌子123(www.paizi123.cn) 版权所有 备案号:苏ICP备13009020号-7

网站地图