专利状态
一种双压通用型隔爆型电动机
专利申请进度
申请
2018-03-14
授权
2018-11-06
预估到期
2028-03-14
专利基础信息
申请号 申请日
授权公布号 授权公告日
分类号
分类
申请人名称 焦作市银星制动器有限公司
申请人地址
专利法律状态
  • 2018-11-06
    授权
    状态信息
    授权
摘要
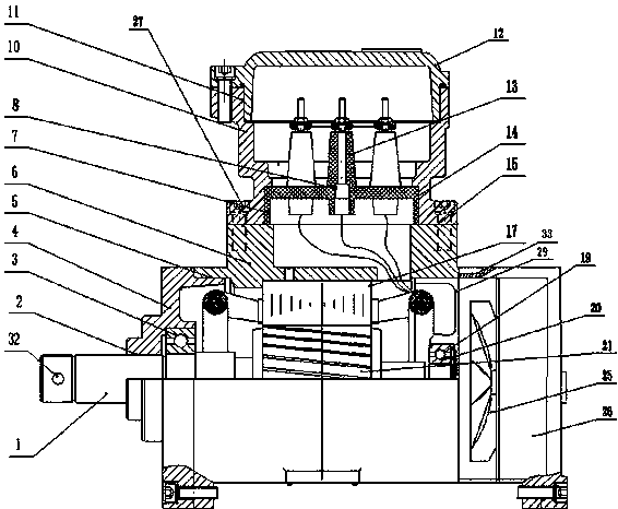
本实用新型公开了一种双压通用型隔爆型电动机,包括机壳,机壳内设有主轴、转子和定子,转子固定在主轴上,机壳前后分别设有前端盖和后端盖,主轴前后端均通过轴承与前端盖和后端盖转动连接,机壳上设有接线盒,接线盒上设有接线盒盖和电源线进口,接线盒内设有接线板,接线板上设有接线柱,接线柱通过导线与定子连接,还包括设置于后端盖右侧的散热消音腔室,所述散热消音腔室内设置有散热组件和消音组件,接线盒与机壳的连接采用沉孔和内六角螺钉结构。本实用新型的电动机结构精巧,运行平稳,安全可靠,制造成本低,能耗小,工作效率较高,适用范围较宽,易于推广。

返回首页 | 品牌大全 | 品牌排行 | 品牌问答 | 品牌资讯 | 品牌价值 | 关于我们 | 联系我们 | 免责声明

Copyright 2013-2020 品牌门户,牌子123(www.paizi123.cn) 版权所有 备案号:苏ICP备13009020号-7

网站地图