专利状态
一种立式制动器
专利申请进度
申请
2020-08-20
授权
2021-04-06
预估到期
2030-08-20
专利基础信息
申请号 申请日
授权公布号 授权公告日
分类号
分类
申请人名称 焦作市银星制动器有限公司
申请人地址
专利法律状态
  • 2021-04-06
    授权
    状态信息
    授权
摘要
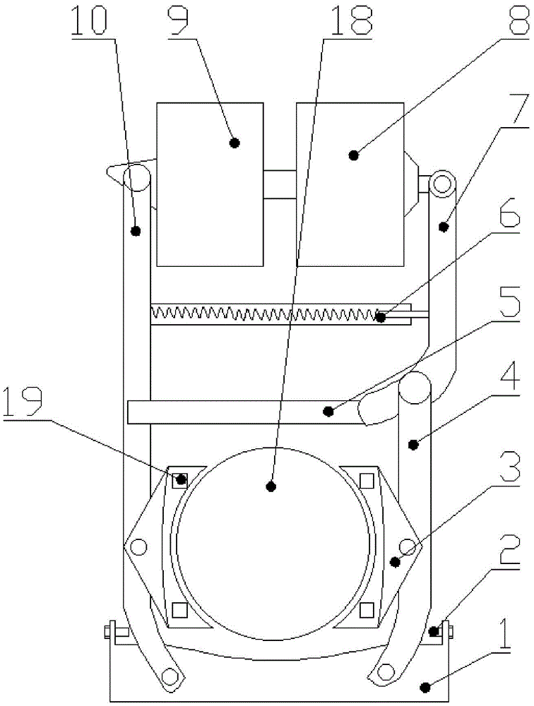
本实用新型属于制动器技术领域,尤其涉及一种立式制动器,包括底座、左制动臂和右制动臂,左制动臂和右制动臂上均设有制动块,制动块内靠近制动件侧设有多个压力传感器,左制动臂和右制动臂的底部均铰接于底座上,左制动臂的顶端铰接有电机,右制动臂顶端铰接有杠杆,杠杆的顶端铰接有柱塞泵,电机的输出轴与柱塞泵远离杠杆端相连接,杠杆包括两侧臂,两侧臂间设有第一连杆、第二连杆、第三连杆和第四连杆,第一连杆中间部位与柱塞泵的柱塞杆相铰接,第四连杆中间部位螺纹连接有调节杆。本实用新型结构简单,操作方便,制动块磨损后可以自动进行调节,且能实时检测制动器的制动力矩,以检测制动器是否失效,且制动器体积小,便于现场安装。  

返回首页 | 品牌大全 | 品牌排行 | 品牌问答 | 品牌资讯 | 品牌价值 | 关于我们 | 联系我们 | 免责声明

Copyright 2013-2020 品牌门户,牌子123(www.paizi123.cn) 版权所有 备案号:苏ICP备13009020号-7

网站地图