专利状态
一种枸杞产品生产用自动灭菌设备
专利申请进度
申请
2020-09-16
授权
2021-05-25
预估到期
2030-09-16
专利基础信息
申请号 申请日
授权公布号 授权公告日
分类号
分类
申请人名称 方家铺子(莆田)绿色食品有限公司
申请人地址
专利法律状态
  • 2021-05-25
    授权
    状态信息
    授权
摘要
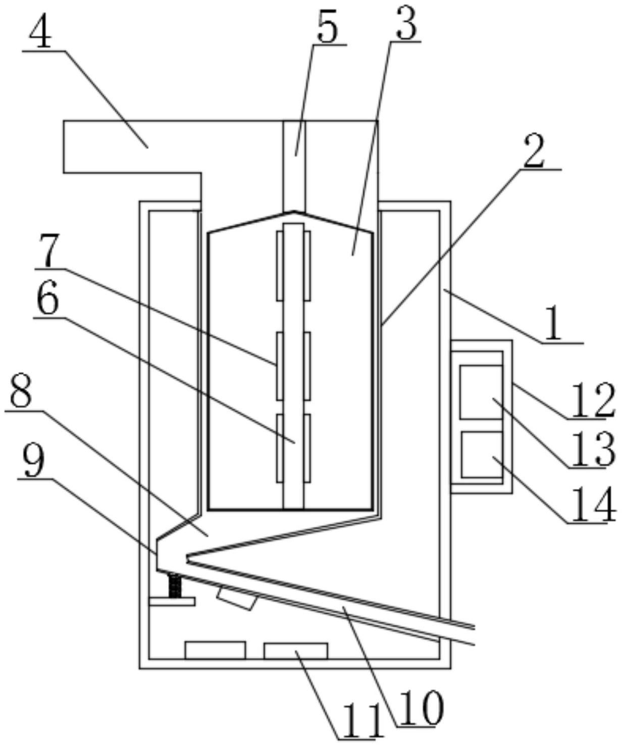
本实用新型涉及食品加工技术领域,尤其为一种枸杞产品生产用自动灭菌设备,包括杀菌桶和固定设置在杀菌桶内的玻璃外罩。本实用新型中,通过设置玻璃筒与玻璃外罩,且玻璃筒外壁与玻璃外罩之间的缝隙间距在0.5‑1cm之间,当枸杞有螺旋进料机传送到连接箱时,枸杞顺着缝隙掉落,使每一颗枸杞都能被红外加热杀菌灯,红外加热杀菌灯的杀菌作用清除枸杞的细菌,当枸杞掉落到排料箱上时,设置的紫外线杀菌灯对其进行二次杀菌,在振动电机和弹簧的配合试用下,杀菌后的枸杞从排料箱排出,完成枸杞的杀菌,该设备,利用红外加热杀菌灯和紫外线杀菌灯对枸杞进行杀菌处理,杀菌效果好,控制方便,适宜推广使用。  

返回首页 | 品牌大全 | 品牌排行 | 品牌问答 | 品牌资讯 | 品牌价值 | 关于我们 | 联系我们 | 免责声明

Copyright 2013-2020 品牌门户,牌子123(www.paizi123.cn) 版权所有 备案号:苏ICP备13009020号-7

网站地图