专利状态
一种冻干海产品微电脑包装纸箱抗压试验机
专利申请进度
申请
2020-09-16
授权
2021-05-14
预估到期
2030-09-16
专利基础信息
申请号 申请日
授权公布号 授权公告日
分类号
分类
申请人名称 方家铺子(莆田)绿色食品有限公司
申请人地址
专利法律状态
  • 2021-05-14
    授权
    状态信息
    授权
摘要
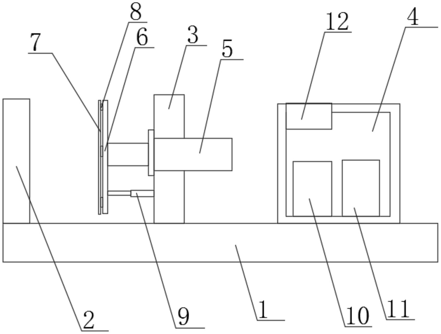
本实用新型涉及食品包装检测技术领域,尤其为一种冻干海产品微电脑包装纸箱抗压试验机,包括底座和从左往右依次间隔固定在底座上的受力板、安装板和设备箱。本实用新型中,通过设置受力板和安装板,且在安装板上设置朝向受力板的推板,该推板上设置有挤压板,且在挤压板和推板之间设置了压力传感器,将包装纸箱放置在受力板和安装板之间,通过电控液压推杆的推力可实现对纸箱抗压能力的检测,设置的位移传感器可检测推板的位移距离,当推板位移一定距离后,控制器控制液压控制器操作电控液压推杆收缩,设置的NFC模块可将由控制器提供的监测信息转换为NFC信号,操作人员只需使用带NFC功能的手机即可读取数据,方便检测数据的传输,适宜推广使用。

返回首页 | 品牌大全 | 品牌排行 | 品牌问答 | 品牌资讯 | 品牌价值 | 关于我们 | 联系我们 | 免责声明

Copyright 2013-2020 品牌门户,牌子123(www.paizi123.cn) 版权所有 备案号:苏ICP备13009020号-7

网站地图