专利状态
一种自动电位滴定仪
专利申请进度
申请
2020-09-16
授权
2021-05-11
预估到期
2030-09-16
专利基础信息
申请号 申请日
授权公布号 授权公告日
分类号
分类
申请人名称 方家铺子(莆田)绿色食品有限公司
申请人地址
专利法律状态
  • 2021-05-11
    授权
    状态信息
    授权
摘要
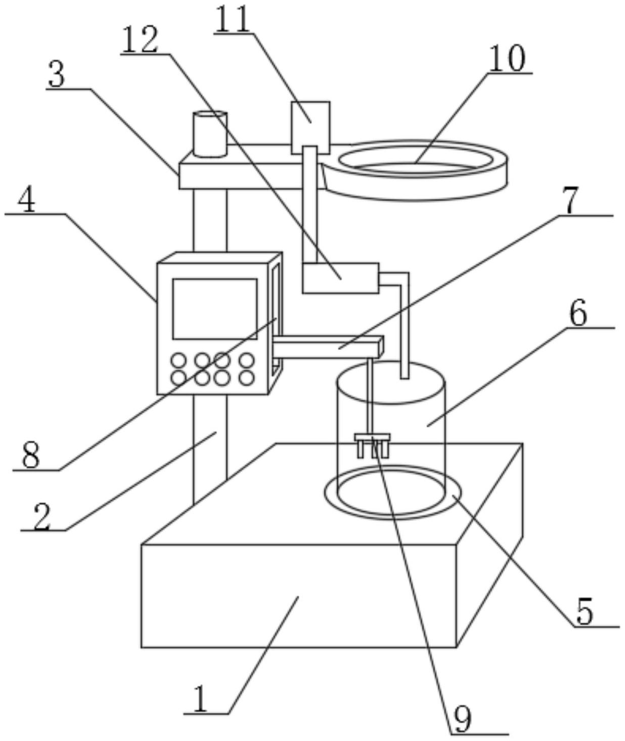
本实用新型涉及食品检测设备技术领域,尤其为一种自动电位滴定仪,包括底座,底座顶部左侧固定设置有支柱,支柱顶部固定设置有横杆,横杆右端固定设置有放置环,横杆上于放置环左侧固定设置有微型水泵,底座顶部固定设置有加热磁力搅拌器。本实用新型中,通过在控制箱右侧设置的滑槽上设置可上下滑动的滑动杆,该滑动杆右端设置有可插入检测杯内的检测头组,使用时,将滑动杆上滑后将检测杯放在加热磁力搅拌器上,后下滑检测头组使其插入检测杯内,开启加热磁力搅拌器后,即可开启微型水泵进行滴定,该设备,操作方便,所检测数据可通过GPRS通讯模块进行远程数据传输,操作方便,适宜推广使用。

返回首页 | 品牌大全 | 品牌排行 | 品牌问答 | 品牌资讯 | 品牌价值 | 关于我们 | 联系我们 | 免责声明

Copyright 2013-2020 品牌门户,牌子123(www.paizi123.cn) 版权所有 备案号:苏ICP备13009020号-7

网站地图