专利状态
一种具有抗菌功能的果蔬贮运保鲜装置
专利申请进度
申请
2020-09-17
授权
2021-08-03
预估到期
2030-09-17
专利基础信息
申请号 申请日
授权公布号 授权公告日
分类号
分类
申请人名称 方家铺子(莆田)绿色食品有限公司
申请人地址
专利法律状态
  • 2021-08-03
    授权
    状态信息
    授权
摘要
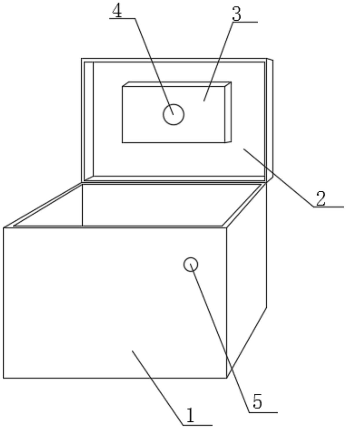
本实用新型涉及果蔬保鲜技术领域,尤其为一种具有抗菌功能的果蔬贮运保鲜装置,包括保存箱和箱盖,保存箱顶部设置的箱盖通过合页与保存箱连接,保存箱底部的底板内设置有空腔,空腔内部从左往右依次固定设置有蓄电池、水箱和控制箱。本实用新型中,通过在保存箱底部的空腔内依次设置蓄电池、水箱和控制箱,其中,控制箱内设置的雾化机在水箱的支持下可实现对保存箱内空气的加湿,雾化机在湿度继电器的控制下,可实现对保存箱内部湿度恒定的控制,通过设置紫外线杀菌灯,在时间继电器的控制下,可实现间歇性开启,对保存箱内空气及果蔬进行杀菌处理,该设备,方便搬运的同时,能够有效保持果蔬的新鲜,适宜推广使用。

返回首页 | 品牌大全 | 品牌排行 | 品牌问答 | 品牌资讯 | 品牌价值 | 关于我们 | 联系我们 | 免责声明

Copyright 2013-2020 品牌门户,牌子123(www.paizi123.cn) 版权所有 备案号:苏ICP备13009020号-7

网站地图