专利状态
一种南北干货果蔬微生物检测装置
专利申请进度
申请
2021-09-17
授权
2022-03-01
预估到期
2031-09-17
专利基础信息
申请号 申请日
授权公布号 授权公告日
分类号
分类
申请人名称 方家铺子(莆田)绿色食品有限公司
申请人地址
专利法律状态
  • 2022-03-01
    授权
    状态信息
    授权
摘要
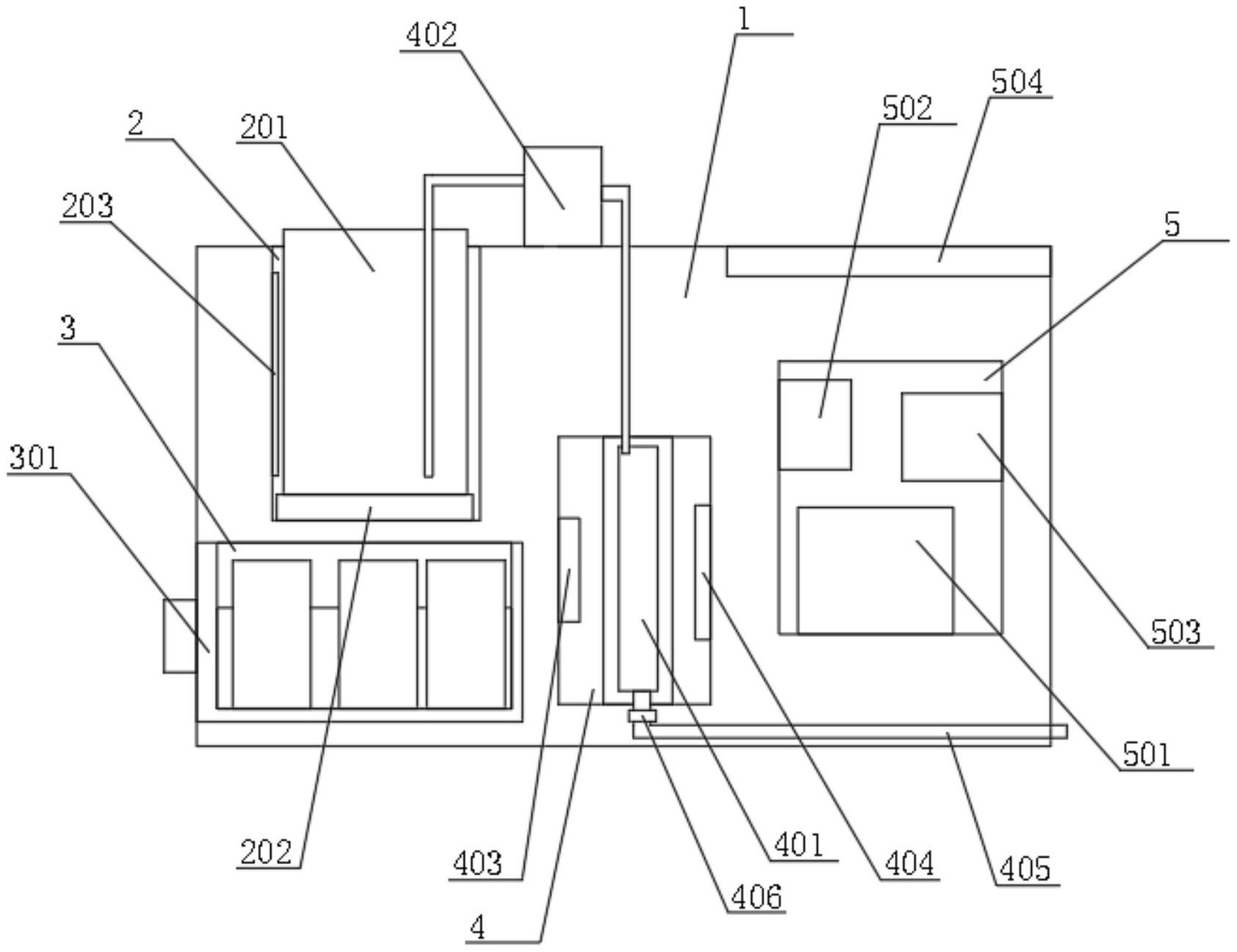
本实用新型涉及食品检测技术领域,尤其为一种南北干货果蔬微生物检测装置,包括机壳,机壳左端顶部设置有预处理槽,机壳内部于预处理槽右侧依次设置有检测室和控制室,检测装置还包括设置在预处理槽内的预处理机构、设置在检测室内的检测机构和设置在控制室内的控制机构。本实用新型中,通过在预处理槽内设置磁力搅拌器,可对样品杯内的样品进行磁力搅拌,期间,从检测试剂抽屉中取出对应的检测试剂添加,得到待检测样品,利用供料泵将待检测样品抽入检测玻璃箱内,同时开启光源,利用颜色传感器对待检测样品进行检测,检测结果由处理器芯片处理,该装置,可实现对南北干货果蔬微生物的快速检测,操作方便,适宜推广使用。

返回首页 | 品牌大全 | 品牌排行 | 品牌问答 | 品牌资讯 | 品牌价值 | 关于我们 | 联系我们 | 免责声明

Copyright 2013-2020 品牌门户,牌子123(www.paizi123.cn) 版权所有 备案号:苏ICP备13009020号-7

网站地图