专利状态
一种可拆卸杯盖
专利申请进度
申请
2022-12-13
授权
2023-04-18
预估到期
2032-12-13
专利基础信息
申请号 申请日
授权公布号 授权公告日
分类号
分类
申请人名称 安徽省富光实业股份有限公司
申请人地址
专利法律状态
  • 2023-04-18
    授权
    状态信息
    授权
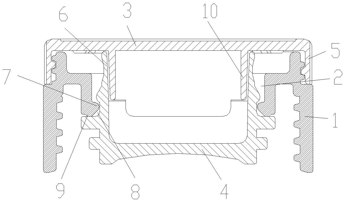
摘要
本实用新型公开了一种可拆卸杯盖,包括杯盖主体,杯盖主体上设有一个上下贯通的安装通道,杯盖主体的安装通道中可拆卸地连接有内塞组件,内塞组件包括呈上下可拆卸连接的顶盖和内塞,顶盖的盖体底面顶在杯盖主体顶端上,杯盖主体的安装通道内侧壁与内塞外侧壁之间转动连接,内塞底端向下伸出安装通道之下并连接有封水件,通过封水件与杯体内侧壁密封贴合。本实用新型相比现有技术具有以下优点:消除了封水件在运动过程中的异响,同时方便全拆卸清洗。

返回首页 | 品牌大全 | 品牌排行 | 品牌问答 | 品牌资讯 | 品牌价值 | 关于我们 | 联系我们 | 免责声明

Copyright 2013-2020 品牌门户,牌子123(www.paizi123.cn) 版权所有 备案号:苏ICP备13009020号-7

网站地图