专利状态
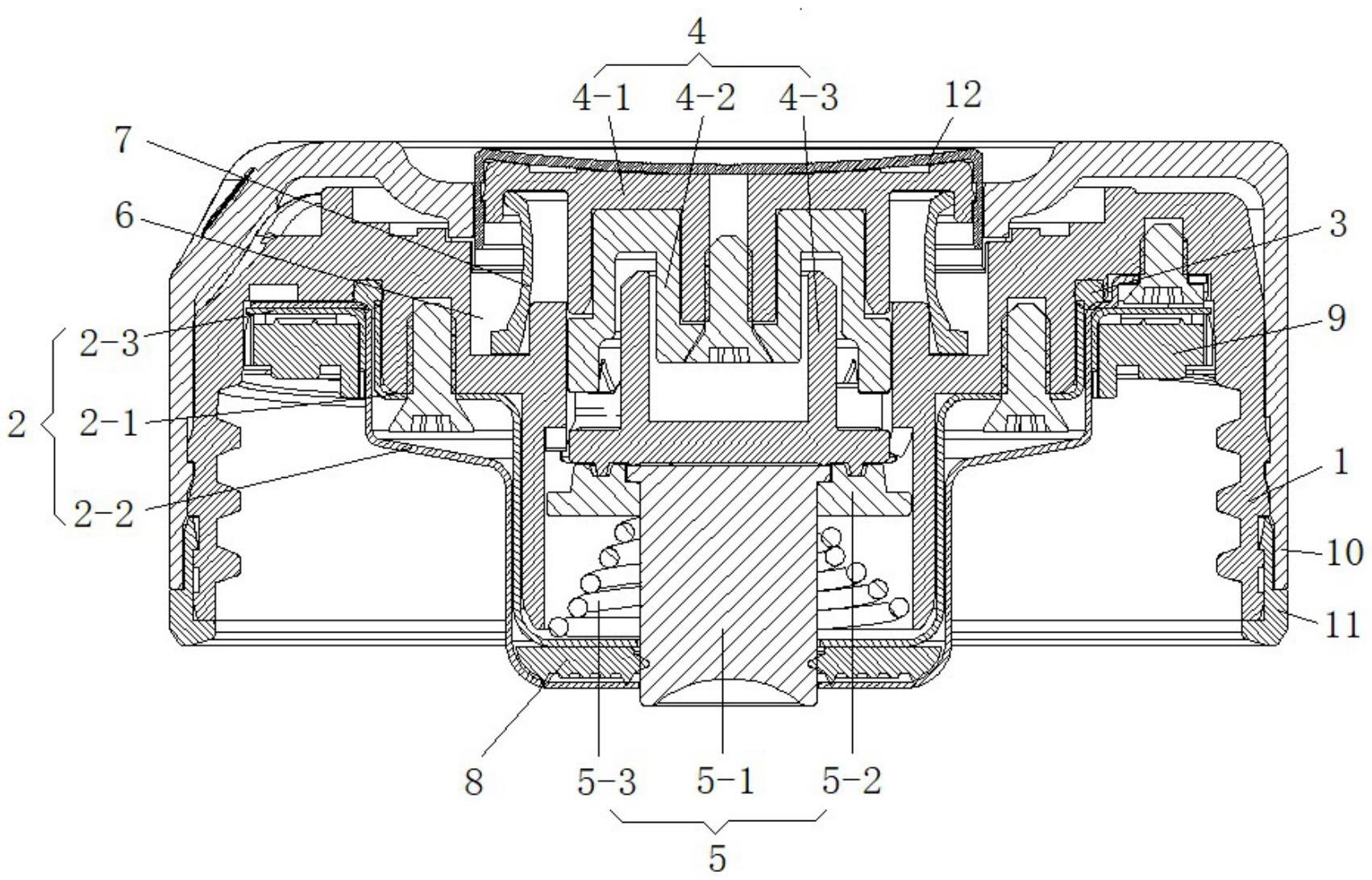
一种按钮杯盖
专利申请进度
申请
2022-12-26
授权
2023-06-16
预估到期
2032-12-26
专利基础信息
申请号 申请日
授权公布号 授权公告日
分类号
分类
申请人名称 安徽省富光实业股份有限公司
申请人地址
专利法律状态
  • 2023-06-16
    授权
    状态信息
    授权
摘要
本实用新型公开了一种按钮杯盖,属于生活日用品领域,包括与杯体口部旋合的盖体,盖体中部贯穿设置有安装腔,盖体内壁设有回流盖,安装腔内上下滑动安装有按压结构,按压结构的按钮组件、顶杆复位组件分别滑动安装于安装腔上段、安装腔下段,顶杆复位组件的顶杆穿过回流盖,按钮组件压住顶杆复位组件于安装腔内上下滑动,安装腔上段阶梯台处设有环形槽,环形槽内安装有弹性密封筒,弹性密封筒上端顶住按钮组件,弹性密封筒处于压缩状态,弹性密封筒配合按钮组件将安装腔上段密封隔断。本实用新型能够阻止外界水、杯体内的液体进入安装腔,保证按压结构所处的安装腔处于密封环境。

返回首页 | 品牌大全 | 品牌排行 | 品牌问答 | 品牌资讯 | 品牌价值 | 关于我们 | 联系我们 | 免责声明

Copyright 2013-2020 品牌门户,牌子123(www.paizi123.cn) 版权所有 备案号:苏ICP备13009020号-7

网站地图