专利状态
一种由前滑带动零重力的按摩椅架
专利申请进度
申请
2014-06-30
授权
2014-12-10
预估到期
2024-06-30
专利基础信息
申请号 申请日
授权公布号 授权公告日
分类号
分类
申请人名称 福建怡和电子有限公司
申请人地址
专利法律状态
  • 2014-12-10
    授权
    状态信息
    授权
摘要
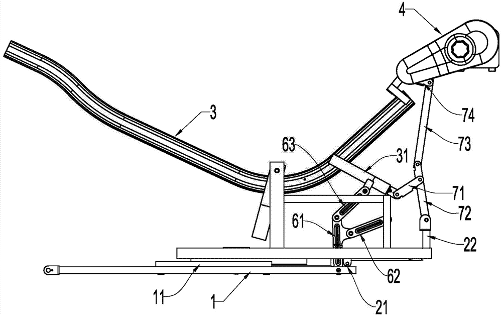
本实用新型涉及一种由前滑带动零重力的按摩椅架,包括有底架、滑动座架、座靠架、小腿架和电动推杆;滑动座架安装在底架的轨道上,座靠架通过转轴安装在滑动座架上,小腿架铰接在座靠架前端;电动推杆两端分别枢设于底架和滑动座架上,驱动滑动座架沿底架的轨道前后移动,其中还包括第一连杆机构和第二连杆机构;第一连杆机构由滑动座架前移时,牵引座靠架从坐姿往平躺角度调整;第二连杆机构实现由座靠架驱动小腿架抬举动作。本实用新型一种由前滑带动零重力的按摩椅架,其优点在于:仅使用一个电动推杆和两组简单的连杆机构,就能有效实现前滑、平躺、抬腿多个功能的连贯动作,结构简单、成本低廉,并且为用户放置按摩椅节约了空间,设计人性化。

返回首页 | 品牌大全 | 品牌排行 | 品牌问答 | 品牌资讯 | 品牌价值 | 关于我们 | 联系我们 | 免责声明

Copyright 2013-2020 品牌门户,牌子123(www.paizi123.cn) 版权所有 备案号:苏ICP备13009020号-7

网站地图