专利状态
一种低压抽出式开关柜
专利申请进度
申请
2017-11-29
授权
2018-06-12
预估到期
2027-11-29
专利基础信息
申请号 申请日
授权公布号 授权公告日
分类号
分类
申请人名称 上海德力西开关有限公司
申请人地址
专利法律状态
  • 2018-06-12
    授权
    状态信息
    授权
摘要
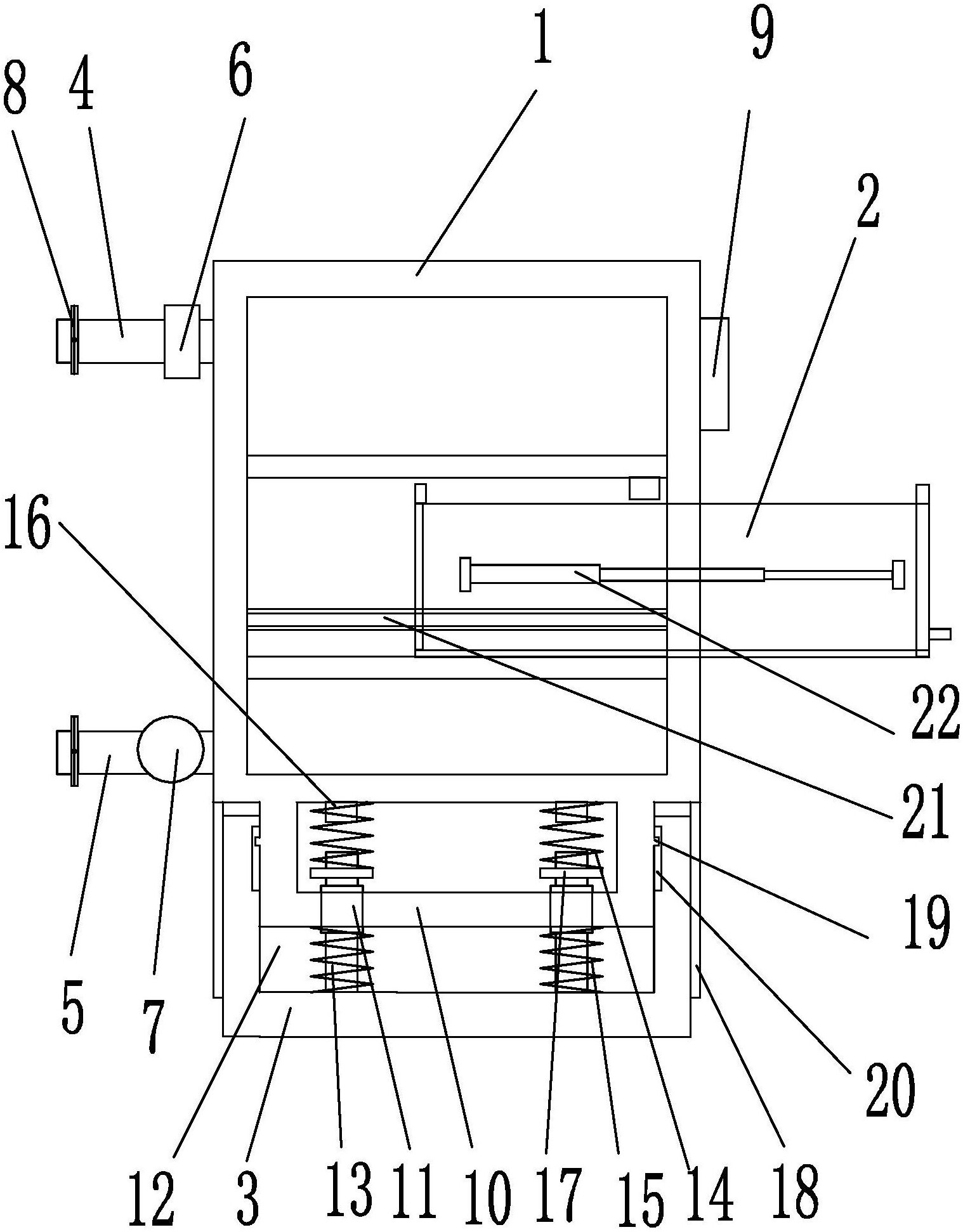
本实用新型涉及一种低压抽出式开关柜,主要解决了现有的低压抽出式开关柜存在防震和散热效果差的问题。所述的低压抽出式开关柜,其包括有柜体、抽屉单元和底座,所述柜体的上下两侧分别设置有进风管和出风管,进风管和出风管上分别设置有冷却器和引风机,柜体的一侧设置有控制器,柜体的下端设置有与其一体式的减震支架,减震支架上设置有至少四个与其固定连接的光轴套,底座上设置有与减震支架相适配的凹槽结构,凹槽结构内设置有与其固定连接的减震柱,减震柱的上下两侧分别套设有弹性支架I和弹性支架II。该低压抽出式开关柜的结构简单合理,散热和防震效果好,实用简单,安全可靠,使用寿命长,易于推广。

返回首页 | 品牌大全 | 品牌排行 | 品牌问答 | 品牌资讯 | 品牌价值 | 关于我们 | 联系我们 | 免责声明

Copyright 2013-2020 品牌门户,牌子123(www.paizi123.cn) 版权所有 备案号:苏ICP备13009020号-7

网站地图