专利状态
一种防止孩童误吞的小颗粒积木玩具
专利申请进度
申请
2018-11-13
申请公布
2019-02-12
授权
2020-11-06
预估到期
2038-11-13
专利基础信息
申请号 申请日
授权公布号 授权公告日
分类号
分类
申请人名称 广东小白龙动漫文化股份有限公司
申请人地址
专利法律状态
  • 2020-11-06
    授权
    状态信息
    授权
  • 2020-10-27
    专利申请权、专利权的转移
    状态信息
    专利申请权的转移;IPC(主分类):A63H 33/12;专利申请号:2018113459593;登记生效日:20201012;变更事项:申请人;变更前权利人:张玲;变更后权利人:广东小白龙动漫文化股份有限公司;变更事项:地址;变更前权利人:266100 山东省青岛市崂山区松岭路93号;变更后权利人:515832 广东省汕头市澄海区新市区登峰路以北、宁川北路以东
  • 2019-03-08
    实质审查的生效
    状态信息
    实质审查的生效;IPC(主分类):A63H 33/12;专利申请号:2018113459593;申请日:20181113
  • 2019-02-12
    发明专利申请公布
    状态信息
    公布
摘要
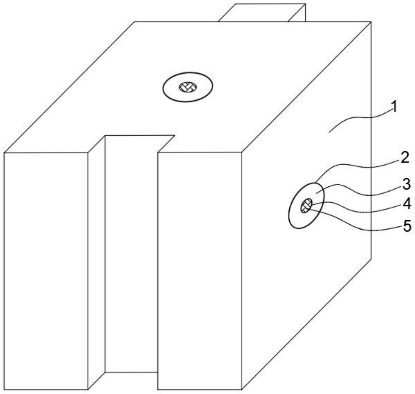
本发明公开了一种防止孩童误吞的小颗粒积木玩具,包括积木本体,所述积木本体为正方体,且积木本体的上下左右侧壁均设有安装孔,所述安装孔中还设有内螺纹,多个所述安装孔中均设有安装块,且安装块的一侧侧壁上设有连接块,所述连接块的外侧侧壁上设有与安装孔中的内螺纹相匹配的外螺纹,所述安装块中设有安装腔,所述安装块的正中央侧壁上设有通孔,且通孔与安装腔相连通,所述通孔的侧壁上设有水解膜,靠近通孔的所述安装腔的一侧侧壁上设有金属片,与通孔相对的所述安装腔的一侧侧壁上设有发电片,所述金属片与安装腔之间设有硅胶层。本发明中,该小颗粒积木玩具可以有效防止孩童将其吞入口腔中,进而造成难以想象的危险。  

返回首页 | 品牌大全 | 品牌排行 | 品牌问答 | 品牌资讯 | 品牌价值 | 关于我们 | 联系我们 | 免责声明

Copyright 2013-2020 品牌门户,牌子123(www.paizi123.cn) 版权所有 备案号:苏ICP备13009020号-7

网站地图