专利状态
一种注塑机的注料结构
专利申请进度
申请
2020-05-11
授权
2021-01-19
预估到期
2030-05-11
专利基础信息
申请号 申请日
授权公布号 授权公告日
分类号
分类
申请人名称 广东小白龙动漫文化股份有限公司
申请人地址
专利法律状态
  • 2021-01-19
    授权
    状态信息
    授权
摘要
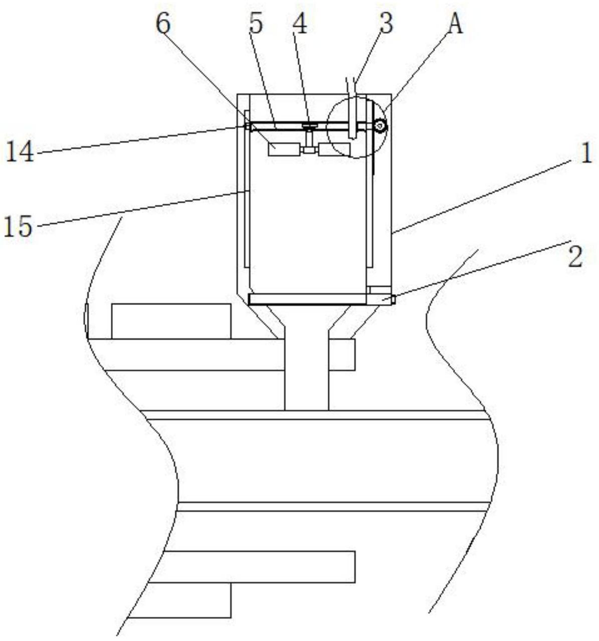
本实用新型公开了一种注塑机的注料结构,涉及塑料制造设备技术领域,包括进料口,所述进料口的内壁设置有导料管,所述导料管外壁设置有面板,所述面板的一端连接有连接柱,所述连接柱的外壁安装有压板,所述压板的内壁安装有一号电机,所述一号电机的输出端连接有搅拌叶,所述压板的一端连接有齿条,所述齿条的外壁设置有齿轮,所述齿轮的内壁设置有二号电机,所述压板的另一端安装有滑块。本实用新型通过设置滤网和把手,被输送的物料经过收纳腔的内壁,较大的杂质被收纳腔内壁设置的滤网阻隔,当一段时间后,关闭二号电机和一号电机,拉动把手,因此收纳腔被抽出,使得物料中不会含有杂质,对物件的成型不会造成影响。  

返回首页 | 品牌大全 | 品牌排行 | 品牌问答 | 品牌资讯 | 品牌价值 | 关于我们 | 联系我们 | 免责声明

Copyright 2013-2020 品牌门户,牌子123(www.paizi123.cn) 版权所有 备案号:苏ICP备13009020号-7

网站地图