专利状态
一种反光碗LED前雾灯
专利申请进度
申请
2016-07-21
授权
2017-01-11
预估到期
2026-07-21
专利基础信息
申请号 申请日
授权公布号 授权公告日
分类号
分类
申请人名称 广东金华达电子有限公司
申请人地址
专利法律状态
  • 2017-01-11
    授权
    状态信息
    授权
摘要
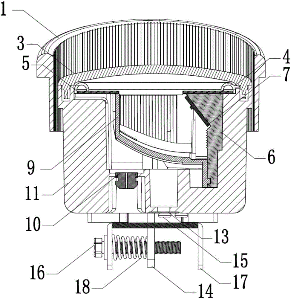
本实用新型公开了一种反光碗LED前雾灯,包括支架,所述支架通过支架固定螺丝固定到一体化成型散热灯杯的外表面上,所述一体化成型散热灯杯的内表面通过螺丝固定安装有定位座,所述定位座的内表面前端通过铜基板固定螺丝固定有LED光源模组,所述定位座的内表面后端通过反射镜螺丝固定有反射镜,所述一体化成型散热灯杯的后端通过支架固定螺丝连接有调节架,所述调节架通过调节螺丝和调节“L”板连接。该LED前雾灯采用一体化成型散热灯杯技术,一体化成型散热灯杯内部安装有反射镜,LED光源模组通过反射镜把LED光形成需要的雾灯光源形状,使雾灯光效高、光形好、光穿透能力强、照射范围宽。

返回首页 | 品牌大全 | 品牌排行 | 品牌问答 | 品牌资讯 | 品牌价值 | 关于我们 | 联系我们 | 免责声明

Copyright 2013-2020 品牌门户,牌子123(www.paizi123.cn) 版权所有 备案号:苏ICP备13009020号-7

网站地图