专利状态
一种便于用户独立操作的唾液样本采集装置
专利申请进度
申请
2019-03-29
授权
2020-01-03
预估到期
2029-03-29
专利基础信息
申请号 申请日
授权公布号 授权公告日
分类号
分类
申请人名称 成都二十三魔方生物科技有限公司
申请人地址
专利法律状态
  • 2020-01-03
    授权
    状态信息
    授权
摘要
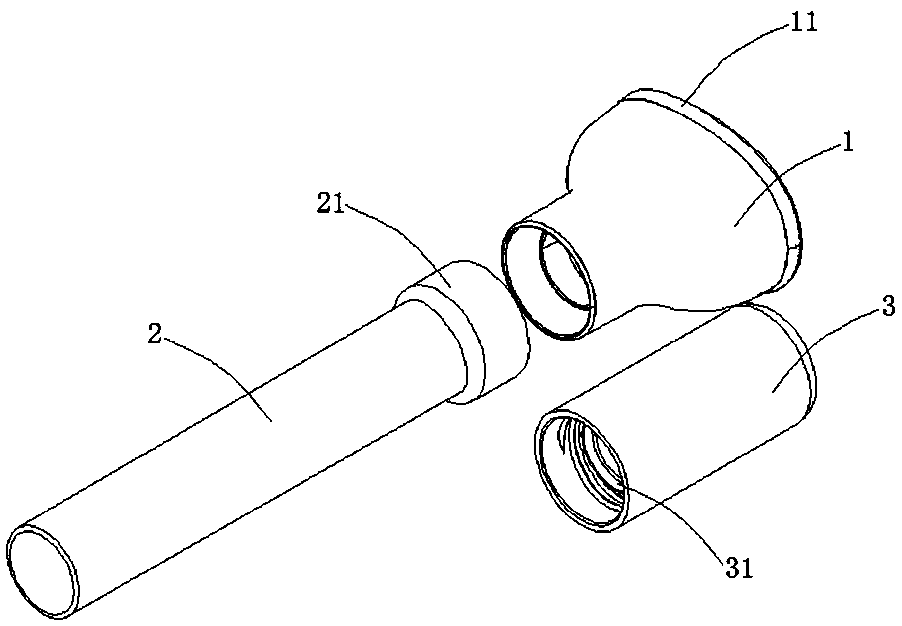
本实用新型公开了一种便于用户独立操作的唾液样本采集装置,包括采集部、收集管、封盖;采集部下端与收集管开放设置的开口端可分离插接;收集管的开口端下部为置于收集管内部的混合腔,开口端内部设有顶块,开口端外壁设有外螺纹/内螺纹;封盖的盖口内壁设有与收集管处外螺纹/内螺纹相匹配的内螺纹/外螺纹,封盖内部设有盛装唾液保存液的储液腔,唾液保存液通过位于储液腔下部的密封胶塞密封在储液腔内;本实用新型使用过程中,不易发生误操作,用户能独立完成唾液样本的提取和保存,收集管与封盖固定密封结构更为稳定,无需去检验机构进行唾液样本提取,私密性好;结构简单,使用方便,制造成本低,适宜广泛推广应用。

返回首页 | 品牌大全 | 品牌排行 | 品牌问答 | 品牌资讯 | 品牌价值 | 关于我们 | 联系我们 | 免责声明

Copyright 2013-2020 品牌门户,牌子123(www.paizi123.cn) 版权所有 备案号:苏ICP备13009020号-7

网站地图