专利状态
一种岩心剖切装置
专利申请进度
申请
2023-07-05
授权
2024-03-26
预估到期
2033-07-05
专利基础信息
申请号 申请日
授权公布号 授权公告日
分类号
分类
申请人名称 中国石油化工股份有限公司
申请人地址
专利法律状态
  • 2024-03-26
    授权
    状态信息
    授权
摘要
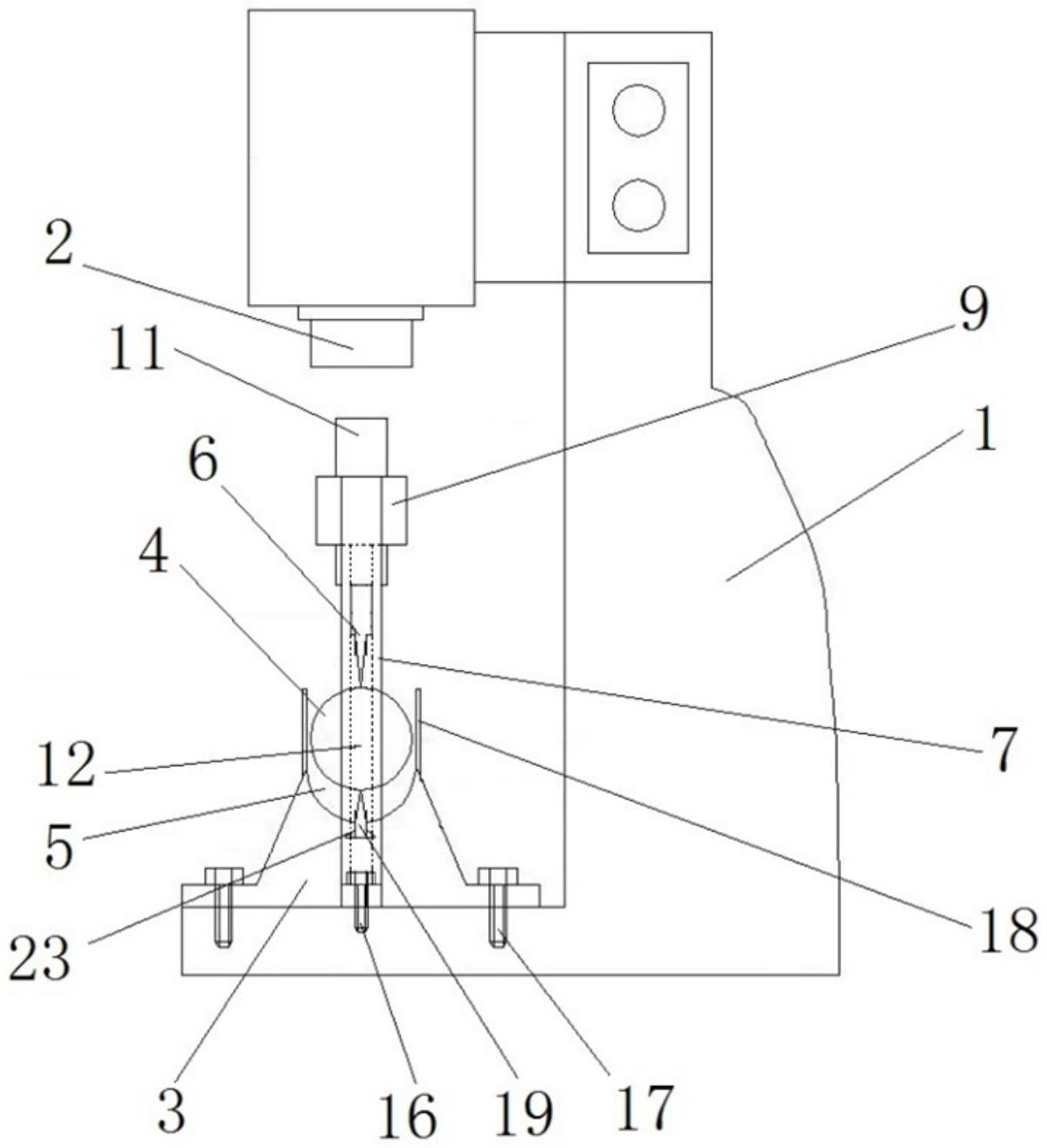
本实用新型属于硬质试样剖切设备领域,特别是涉及一种岩心剖切装置,岩心剖切装置包括机架,机架上沿上下方向相对地设置有底座和冲头,底座上具有用于定位放置岩心的岩心容纳槽,机架上具有刀具安装结构,刀具沿上下方向导向地安装在刀具安装结构上,冲头、刀具和岩心容纳槽上下对准,使得冲头能够对刀具施力以剖切岩心容纳槽内的岩心,使用时将岩心放置在岩心容纳槽中,冲头向下运动向刀具施力,驱动刀具对岩心进行剖切,由于刀具导向安装在刀具安装结构上,因此刀具相对于冲头是独立的,无需在刀具和冲头之间设置连接结构,避免刀具和冲头之间存在易损坏的结构,保证岩心剖切装置能够长期可靠使用。

返回首页 | 品牌大全 | 品牌排行 | 品牌问答 | 品牌资讯 | 品牌价值 | 关于我们 | 联系我们 | 免责声明

Copyright 2013-2020 品牌门户,牌子123(www.paizi123.cn) 版权所有 备案号:苏ICP备13009020号-7

网站地图