专利状态
带有多功能连接件的麦克风
专利申请进度
申请
2018-06-01
授权
2019-03-15
预估到期
2028-06-01
专利基础信息
申请号 申请日
授权公布号 授权公告日
分类号
分类
申请人名称 北京麦颂文化传播有限公司
申请人地址
专利法律状态
  • 2019-03-15
    授权
    状态信息
    授权
摘要
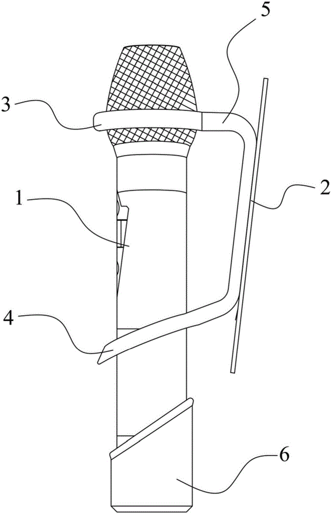
本实用新型涉及一种带有多功能连接件的麦克风,包括麦克风本体和多功能连接件,所述多功能连接件包括:第一套件,该第一套件固定连接于所述麦克风本体的咪头附近;第二套件,该第二套件固定连接于所述麦克风本体的把手部位;连接部,该连接部连接所述第一套件和第二套件。

返回首页 | 品牌大全 | 品牌排行 | 品牌问答 | 品牌资讯 | 品牌价值 | 关于我们 | 联系我们 | 免责声明

Copyright 2013-2020 品牌门户,牌子123(www.paizi123.cn) 版权所有 备案号:苏ICP备13009020号-7

网站地图