专利状态
一种便捷式消防作战单元
专利申请进度
申请
2019-08-06
授权
2020-05-15
预估到期
2029-08-06
专利基础信息
申请号 申请日
授权公布号 授权公告日
分类号
分类
申请人名称 亚太泵阀有限公司
申请人地址
专利法律状态
  • 2020-05-15
    授权
    状态信息
    授权
摘要
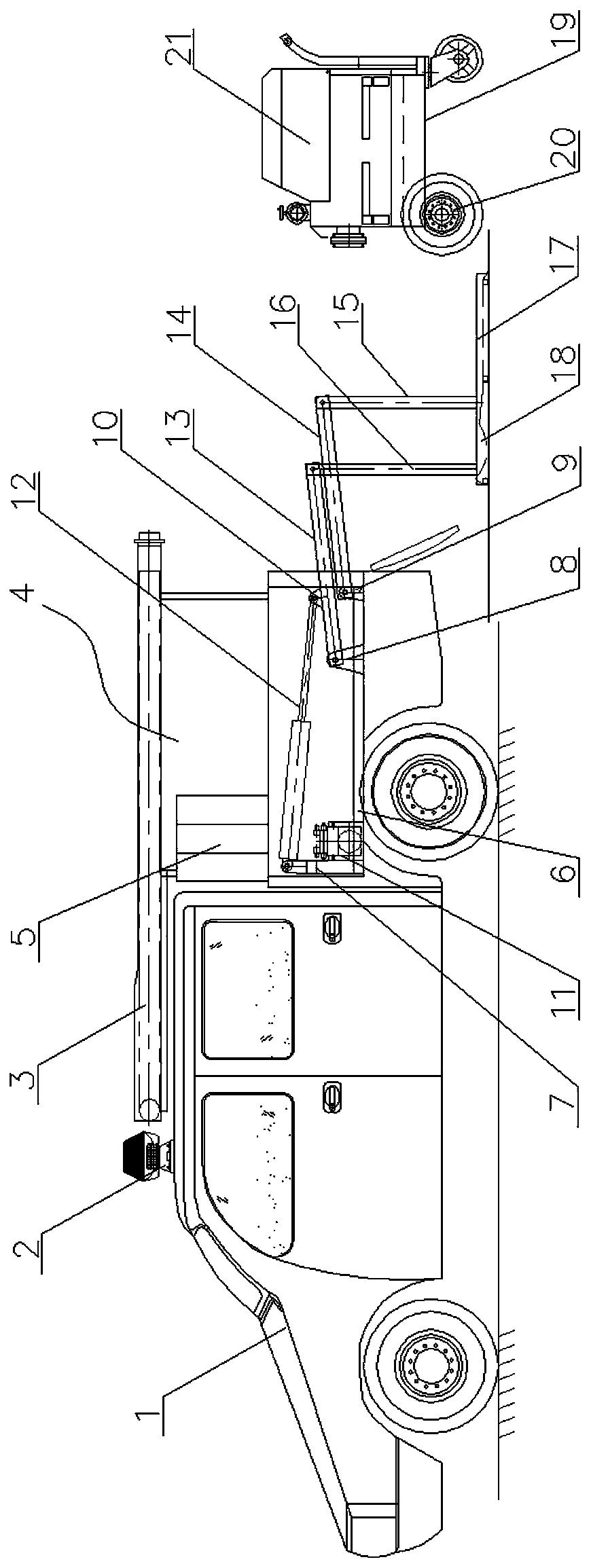
本实用新型涉及一种便捷式消防作战单元,包括皮卡和支撑在电动推车上的手抬泵,所述皮卡后部货箱内设通过螺栓固定座货箱底板上的升降底座,升降底座的两侧均由内至外设置后支架座、中间支架座和前铰接座,后支架座上铰接一液压缸后端,中间支架座上铰接一中间连杆后端,前铰接座上铰接一前连杆后端,液压缸前端经旋转驱动座连接在前连杆中部,前连杆的前端和中间连杆的前端分别铰接前、后垂直杆的上部,前、后垂直杆的下部固定连接升降托板的中、后部,电动推车置于升降托板上,液压缸连接置于货箱内或升降底座上的液压总成。其结构简单,使用便捷,手抬泵装卸消防车辆省时省力,便于消防快速作战。

返回首页 | 品牌大全 | 品牌排行 | 品牌问答 | 品牌资讯 | 品牌价值 | 关于我们 | 联系我们 | 免责声明

Copyright 2013-2020 品牌门户,牌子123(www.paizi123.cn) 版权所有 备案号:苏ICP备13009020号-7

网站地图