专利状态
一种酱油包装用多瓶同步贴标装置
专利申请进度
申请
2022-07-14
授权
2022-11-25
预估到期
2032-07-14
专利基础信息
申请号 申请日
授权公布号 授权公告日
分类号
分类
申请人名称 黑龙江珍选食品有限公司
申请人地址
专利法律状态
  • 2022-11-25
    授权
    状态信息
    授权
摘要
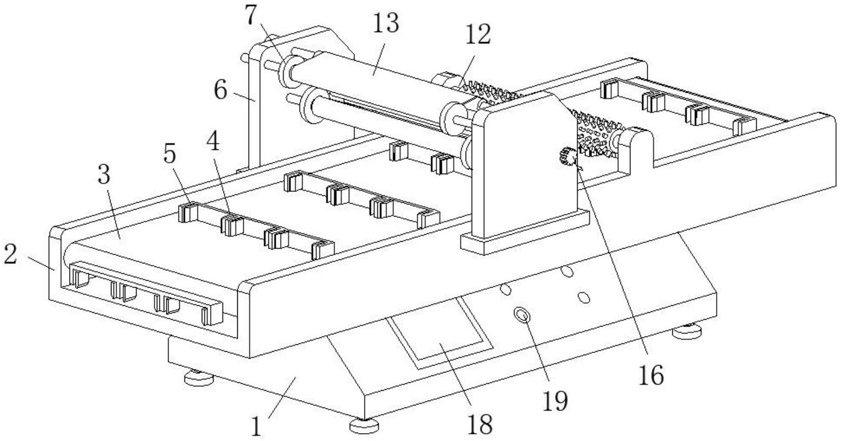
本实用新型公开了一种酱油包装用多瓶同步贴标装置,包括底座,所述底座的顶部固定安装有U形架,所述U形架之间固定安装有输送带,所述输送带上固定安装有若干个间隔设置的限位板,每个所述限位板的侧壁上均固定安装有夹紧件;所述U形架的两侧壁上固定安装有对称设置的支架,两个所述支架之间通过轴承转动安装有放卷辊、输送辊、张紧辊和收卷辊,且两个支架之间安装有角度可调的剥离板;所述U形架的顶部固定安装有压标件。本实用新型可将多个瓶体并排放置在输送带上,达到了多瓶同步贴标的目的,提高了贴标效率,还能够满足不同尺寸包装瓶的使用需求,扩大了适应范围,具有结构精简以及成品质量高等优点。

返回首页 | 品牌大全 | 品牌排行 | 品牌问答 | 品牌资讯 | 品牌价值 | 关于我们 | 联系我们 | 免责声明

Copyright 2013-2020 品牌门户,牌子123(www.paizi123.cn) 版权所有 备案号:苏ICP备13009020号-7

网站地图