专利状态
一种茶叶包装漏气检测装置
专利申请进度
申请
2022-05-26
授权
2022-10-28
预估到期
2032-05-26
专利基础信息
申请号 申请日
授权公布号 授权公告日
分类号
分类
申请人名称 四川蒙顶山跃华茶业集团有限公司
申请人地址
专利法律状态
  • 2022-10-28
    授权
    状态信息
    授权
摘要
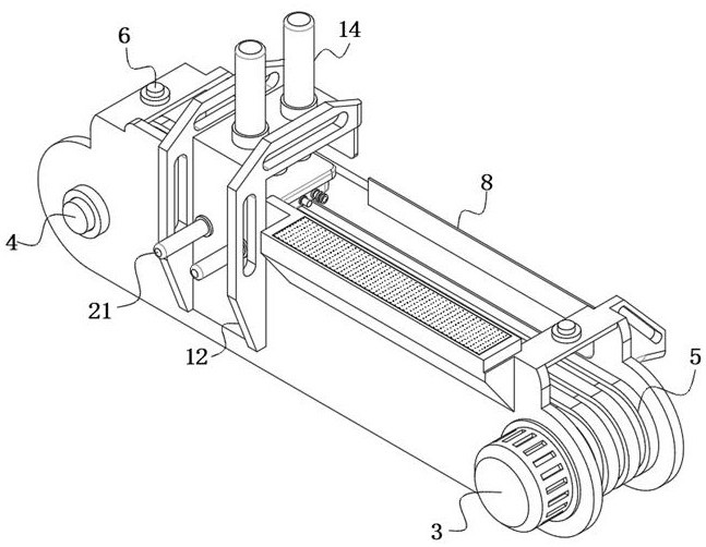
本申请提供了一种茶叶包装漏气检测装置,包括机架,机架的内部安装有用于对茶包的输送机构,机架进料口的一侧固定设置有风检机构,机架的尾部固定安装有茶包风检后的压检机构,机架的内部且对应压检机构正下方的位置固定安装有与压检机构联动的执行模组,机架的侧面固定连通有排废箱。本申请通过设置的风检机构和压检机构,使本装置能够高效完成茶叶漏气包装的检测作业,检测作业时,风检机构能够通过风压进行预检,风压检测时,使一组轴流风机的出风压力大于标准茶包与环形输送带之间的摩擦力。

返回首页 | 品牌大全 | 品牌排行 | 品牌问答 | 品牌资讯 | 品牌价值 | 关于我们 | 联系我们 | 免责声明

Copyright 2013-2020 品牌门户,牌子123(www.paizi123.cn) 版权所有 备案号:苏ICP备13009020号-7

网站地图