专利状态
一种使用效果好的食品加工机
专利申请进度
申请
2022-11-01
授权
2023-05-26
预估到期
2032-11-01
专利基础信息
申请号 申请日
授权公布号 授权公告日
分类号
分类
申请人名称 中山市惠人电器有限公司
申请人地址
专利法律状态
  • 2023-05-26
    授权
    状态信息
    授权
摘要
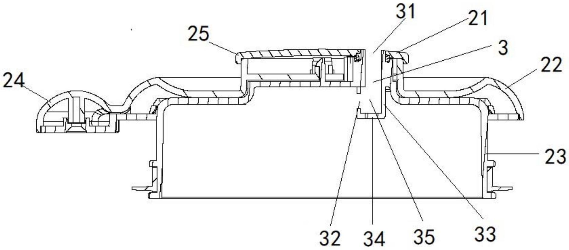
本实用新型提供一种使用效果好的食品加工机,包括搅拌杯和装在搅拌杯上的杯盖,所述杯盖包括依次安装在一起的顶盖、上盖和下盖,以及贯通所述顶盖、上盖和下盖的L形排气通道,所述L形排气通道包括顶部的向上开口的排气口、底部向一侧侧边开口的进气口、以及由侧壁和底壁围成的凸向搅拌杯内部的凸台。

返回首页 | 品牌大全 | 品牌排行 | 品牌问答 | 品牌资讯 | 品牌价值 | 关于我们 | 联系我们 | 免责声明

Copyright 2013-2020 品牌门户,牌子123(www.paizi123.cn) 版权所有 备案号:苏ICP备13009020号-7

网站地图