专利状态
一种乳制品加工匀速加料及升温装置
专利申请进度
申请
2021-12-29
授权
2022-09-20
预估到期
2031-12-29
专利基础信息
申请号 申请日
授权公布号 授权公告日
分类号
分类
申请人名称 上海澳莉嘉食品有限公司
申请人地址
专利法律状态
  • 2022-09-20
    授权
    状态信息
    授权
摘要
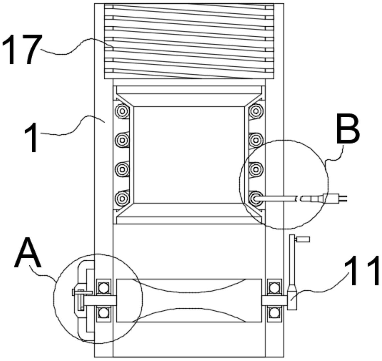
本实用新型涉及乳制品加工技术领域,且公开了一种乳制品加工匀速加料及升温装置,包括管体,所述管体的下部包括有轴承、转杆、挡板、定位罩和转把,所述轴承的一侧与管体下部的一侧嵌入,所述转杆的一端与轴承的内侧插接,所述挡板位于转杆的中部设置,所述定位罩的一侧与管体下部的左侧固定连接,本实用通过设置的管体,以及轴承、转杆、挡板、凹槽、定位罩、活动槽、转盘、插孔、插销和转把配合设置,使用时用户可以将管体的上部通过螺纹槽与乳制品加工用的输送管连接在一起,然后拔出插销,使得插销能够从转盘上的插孔中拔出,从而使用户能够通过转把转动轴承中的转杆。

返回首页 | 品牌大全 | 品牌排行 | 品牌问答 | 品牌资讯 | 品牌价值 | 关于我们 | 联系我们 | 免责声明

Copyright 2013-2020 品牌门户,牌子123(www.paizi123.cn) 版权所有 备案号:苏ICP备13009020号-7

网站地图