专利状态
一种魔方伞具手柄
专利申请进度
申请
2021-01-25
授权
2021-12-28
预估到期
2031-01-25
专利基础信息
申请号 申请日
授权公布号 授权公告日
分类号
分类
申请人名称 浙江蓝雨伞业有限公司
申请人地址
专利法律状态
  • 2021-12-28
    授权
    状态信息
    授权
摘要
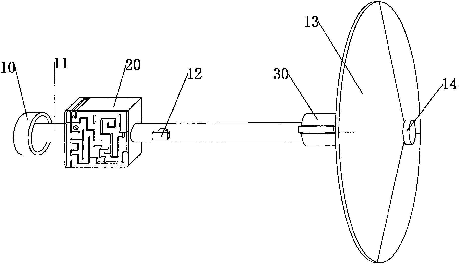
本实用新型公开了一种魔方伞具手柄,属于益智雨伞技术领域,包括伞把、魔方迷宫、撑件、伞撑支架,所述的魔方迷宫一侧设置有迷宫面,所述的迷宫面上设置有迷宫起点,所述的魔方迷宫上开设有终点,所述的迷宫起点处放置有滚珠,所述的魔方迷宫一侧上表面设置有滚槽,所述的滚槽连接有迷宫起点,所述的魔方迷宫内部设置有卡件,所述的卡件连接伞柄,所述的终点通过滚槽连接迷宫起点;通过设置的撑件、伞撑支架使得雨伞打开过程更加顺畅,同时设置的魔方迷宫添加了雨伞的趣味性,在使用魔方迷宫进行游戏时,既锻炼了平衡能力,也锻炼了空间思维想象能力和专注力,实现了雨伞的趣味性游戏功能。

返回首页 | 品牌大全 | 品牌排行 | 品牌问答 | 品牌资讯 | 品牌价值 | 关于我们 | 联系我们 | 免责声明

Copyright 2013-2020 品牌门户,牌子123(www.paizi123.cn) 版权所有 备案号:苏ICP备13009020号-7

网站地图