专利状态
一种带救生锤的折叠伞
专利申请进度
申请
2015-12-21
授权
2016-06-08
预估到期
2025-12-21
专利基础信息
申请号 申请日
授权公布号 授权公告日
分类号
分类
申请人名称 浙江蓝雨伞业有限公司
申请人地址
专利法律状态
  • 2018-03-20
    专利申请权、专利权的转移
    状态信息
    专利权的转移;IPC(主分类):A45B3/00;专利号:ZL2015210864467;登记生效日:20180228;变更事项:专利权人;变更前权利人:卢利明;变更后权利人:浙江蓝雨伞业有限公司;变更事项:地址;变更前权利人:325200 浙江省瑞安市宝隆路11号;变更后权利人:325200 浙江省瑞安市安阳街道十八家工业园宝隆路11号
  • 2016-06-08
    实用新型专利权授予
    状态信息
    授权
摘要
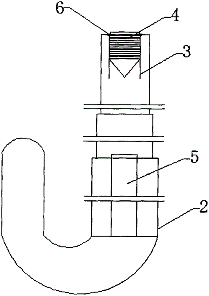
本实用新型公开了一种带救生锤的折叠伞,包括伞架,及与伞架安装的伞面和折叠杆,还包括设置于伞架顶部的螺纹管段;及与螺纹管段螺旋安装的救生锤;所述救生锤一端为平面,另一端为尖形结构;所述折叠杆其尾段内侧设置有受力杆;所述受力杆外径小于折叠杆其首段内径。由于伞可以遮阳和遮蔽雨雪,因此,乘客会经常携带伞具,本实用新型的带救生锤的折叠伞,在伞上集成一逃生锤,且逃生锤其侧部及尾部都能够进行限位,能够方便乘客稳定地敲击玻璃,更好地逃生。

返回首页 | 品牌大全 | 品牌排行 | 品牌问答 | 品牌资讯 | 品牌价值 | 关于我们 | 联系我们 | 免责声明

Copyright 2013-2020 品牌门户,牌子123(www.paizi123.cn) 版权所有 备案号:苏ICP备13009020号-7

网站地图