专利状态
一种雨伞伞骨折弯设备
专利申请进度
申请
2022-08-09
授权
2023-03-28
预估到期
2032-08-09
专利基础信息
申请号 申请日
授权公布号 授权公告日
分类号
分类
申请人名称 浙江蓝雨伞业有限公司
申请人地址
专利法律状态
  • 2023-03-28
    授权
    状态信息
    授权
摘要
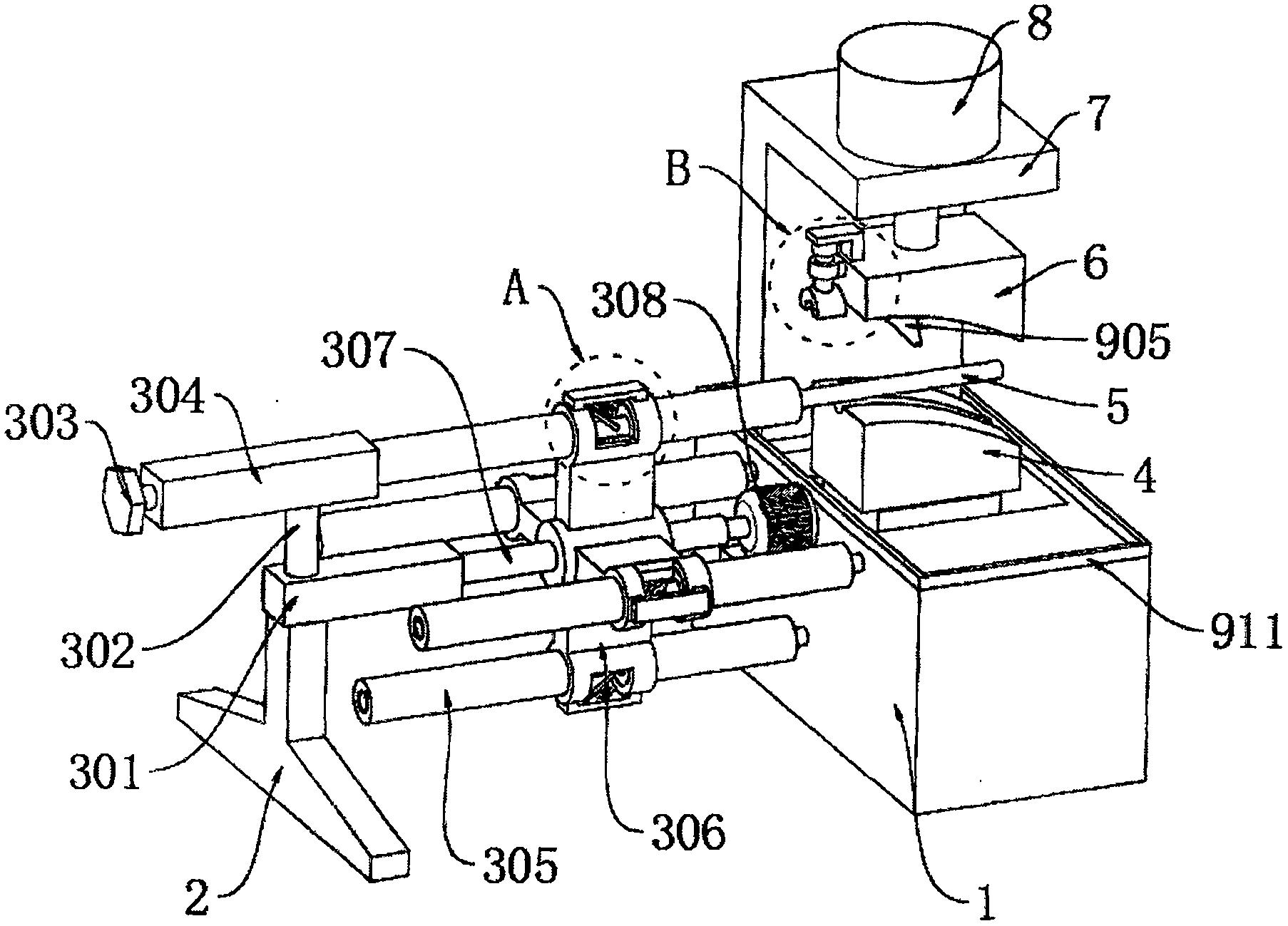
本实用新型公开了一种雨伞伞骨折弯设备,包括箱体,箱体的外表表面固定安装有电机,电机的输出端固定安装有固定杆,固定杆的外表面固定安装有多个固定架,固定架的内部插设有伞骨主体,箱体靠近电机的表面设置有支撑架,支撑架的上表面固定安装有限位块,限位块的上表面固定安装有圆杆,圆杆的自由端固定安装有套筒,套筒的内部滑动安装有移动板,本实用新型一种雨伞伞骨折弯设备,通过按压拉杆,拉杆将长筒内部的伞骨主体移出,从而方便与伞骨主体进行折弯处理,然后通过启动电机,电机带动长筒转动,使得其他长筒转动至于套筒平齐,此时方便对其他长筒内部的伞骨进行折弯处理,对伞骨的折弯效率更好,精度更高。

返回首页 | 品牌大全 | 品牌排行 | 品牌问答 | 品牌资讯 | 品牌价值 | 关于我们 | 联系我们 | 免责声明

Copyright 2013-2020 品牌门户,牌子123(www.paizi123.cn) 版权所有 备案号:苏ICP备13009020号-7

网站地图