专利状态
一种魔芋素食加工用切条装置
专利申请进度
申请
2019-07-01
授权
2020-04-07
预估到期
2029-07-01
专利基础信息
申请号 申请日
授权公布号 授权公告日
分类号
分类
申请人名称 安徽旺德福食品有限公司
申请人地址
专利法律状态
  • 2021-04-02
    专利权人的姓名或者名称、地址的变更
    状态信息
    专利权人的姓名或者名称、地址的变更;IPC(主分类):B26D3/20;专利号:ZL2019210035611;变更事项:专利权人;变更前:淮北辣魔王食品有限公司;变更后:安徽旺德福食品有限公司;变更事项:地址;变更前:235000 安徽省淮北市凤凰山开发区凤冠路18号;变更后:235000 安徽省淮北市凤凰山开发区凤冠路18号
  • 2020-04-07
    授权
    状态信息
    授权
摘要
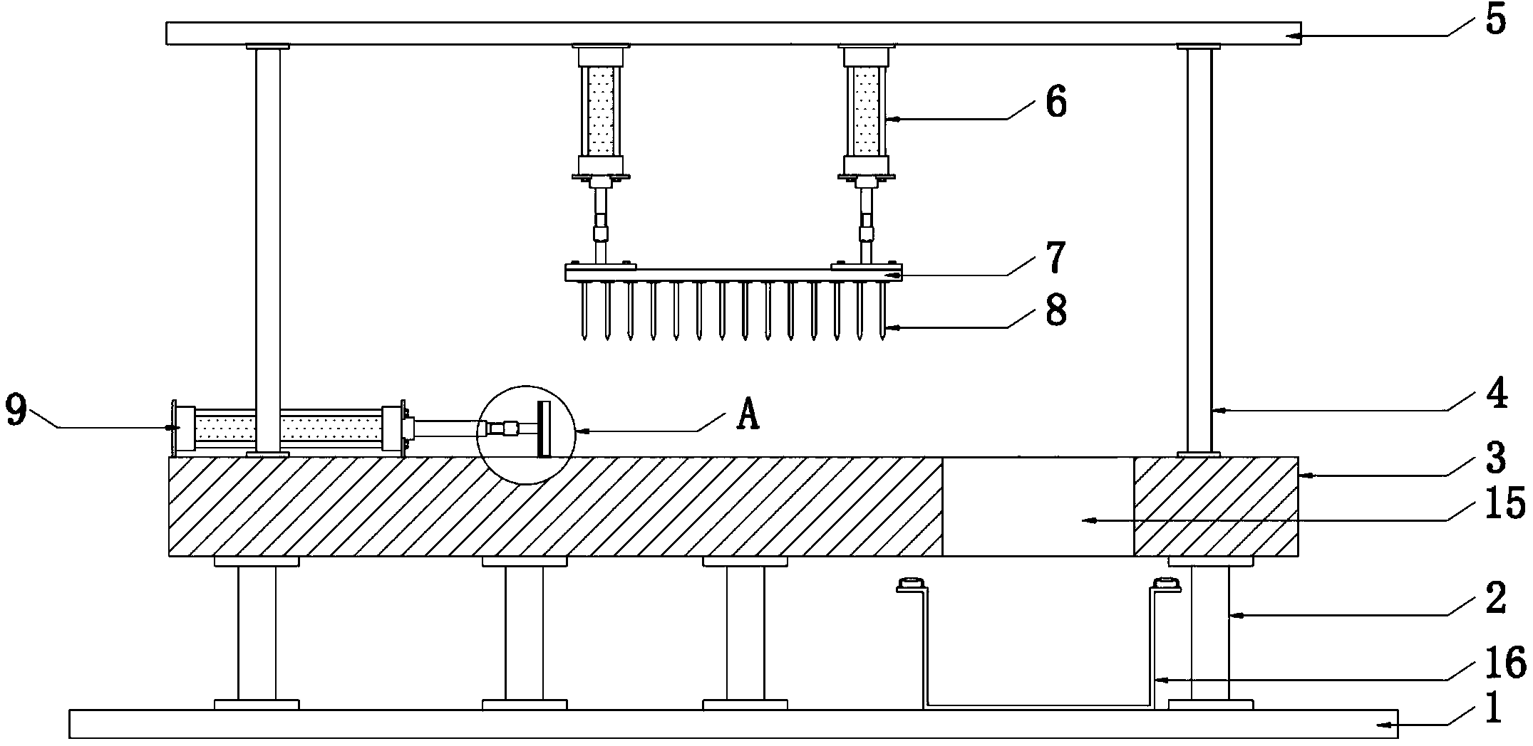
本实用新型涉及魔芋素食加工技术领域,具体的说是一种魔芋素食加工用切条装置,包括底座,所述底座的顶部通过第一支撑柱连接有水平设置的加工平台,所述加工平台的顶部通过第二支撑柱连接有水平设置的机架,所述机架的底部对称安装两组液压缸,所述板体的一侧开设有凹槽,所述板体内部底部开设有预装有弹簧的深槽,所述深槽纵向开设,且深槽中插接有竖直设置的刮板,所述刮板的顶端抵靠到弹簧,所述刮板的底端覆盖有橡胶条,所述通孔正下方的底座上放置有收集框。切割完成后刀板本体复位,利用推料板组件将切割好的产品推至通孔中,物料在自身重力作用下落在了收集框中,下料操作简单。

返回首页 | 品牌大全 | 品牌排行 | 品牌问答 | 品牌资讯 | 品牌价值 | 关于我们 | 联系我们 | 免责声明

Copyright 2013-2020 品牌门户,牌子123(www.paizi123.cn) 版权所有 备案号:苏ICP备13009020号-7

网站地图