专利状态
一种用于降脂减肥养生茶的制作装置
专利申请进度
申请
2019-04-10
授权
2020-03-27
预估到期
2029-04-10
专利基础信息
申请号 申请日
授权公布号 授权公告日
分类号
分类
申请人名称 上海汉康豆类食品有限公司
申请人地址
专利法律状态
  • 2020-03-27
    授权
    状态信息
    授权
摘要
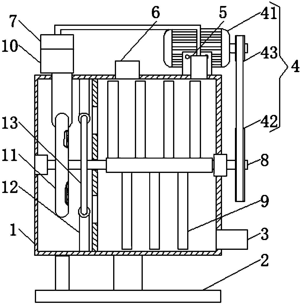
本实用新型涉及养生茶制作装置技术领域,且公开了一种用于降脂减肥养生茶的制作装置,包括箱体,所述箱体正面的中心处转动连接有支撑机构,所述箱体一侧的底端连通有出料管,所述箱体顶部的一侧固定连接有驱动机构,所述箱体位于驱动机构的正面连通有排气管,所述箱体顶部的中心处连通有进料管,所述排气管的顶部通过气管连通有干燥管,所述箱体两侧的中部转动连接有转轴。该用于降脂减肥养生茶的制作装置,通过风机、空心管和挡板的配合使用,使得电加热器产生的热量可对箱体内部的配料进行加热干燥,同时利用排气管、干燥管和气管使得箱体内部加热后的余热通过风机再次进入装置的内部,提高装置的热量利用率。

返回首页 | 品牌大全 | 品牌排行 | 品牌问答 | 品牌资讯 | 品牌价值 | 关于我们 | 联系我们 | 免责声明

Copyright 2013-2020 品牌门户,牌子123(www.paizi123.cn) 版权所有 备案号:苏ICP备13009020号-7

网站地图