专利状态
一种基于真空自动的包装机构
专利申请进度
申请
2019-06-13
授权
2020-04-17
预估到期
2029-06-13
专利基础信息
申请号 申请日
授权公布号 授权公告日
分类号
分类
申请人名称 上海汉康豆类食品有限公司
申请人地址
专利法律状态
  • 2020-04-17
    授权
    状态信息
    授权
摘要
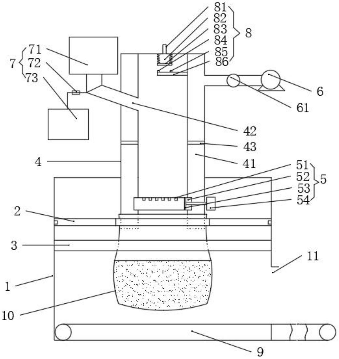
本实用新型公开了一种基于真空自动的包装机构,包括箱体,贯穿箱体顶部的进料筒,箱体内设有可将包装袋紧密固定于进料筒外壁的固定组件,所述进料筒内壁和外壁之间形成封闭式吸气通道,进料筒上方设有与吸气通道连通的真空泵、下方设有将吸气通道与外界通气的吸气机构。本实用新型相比现有技术具有以下优点:本实用新型中吸气机构可以通过驱动电机来旋转自身以便于调节吸气孔的方向,避免在真空操作中,包装袋中的细小物料会被气孔吸走从而导致气孔堵塞,真空操作中断,对装置的损坏;物料的灌装和真空、热封操作均在该装置中进行,提高了真空操作的效率以及食品的包装效率。

返回首页 | 品牌大全 | 品牌排行 | 品牌问答 | 品牌资讯 | 品牌价值 | 关于我们 | 联系我们 | 免责声明

Copyright 2013-2020 品牌门户,牌子123(www.paizi123.cn) 版权所有 备案号:苏ICP备13009020号-7

网站地图