专利状态
一种用于肠道微生物检测的采集胶囊
专利申请进度
申请
2019-04-10
授权
2020-06-09
预估到期
2029-04-10
专利基础信息
申请号 申请日
授权公布号 授权公告日
分类号
分类
申请人名称 上海汉康豆类食品有限公司
申请人地址
专利法律状态
  • 2020-06-09
    授权
    状态信息
    授权
摘要
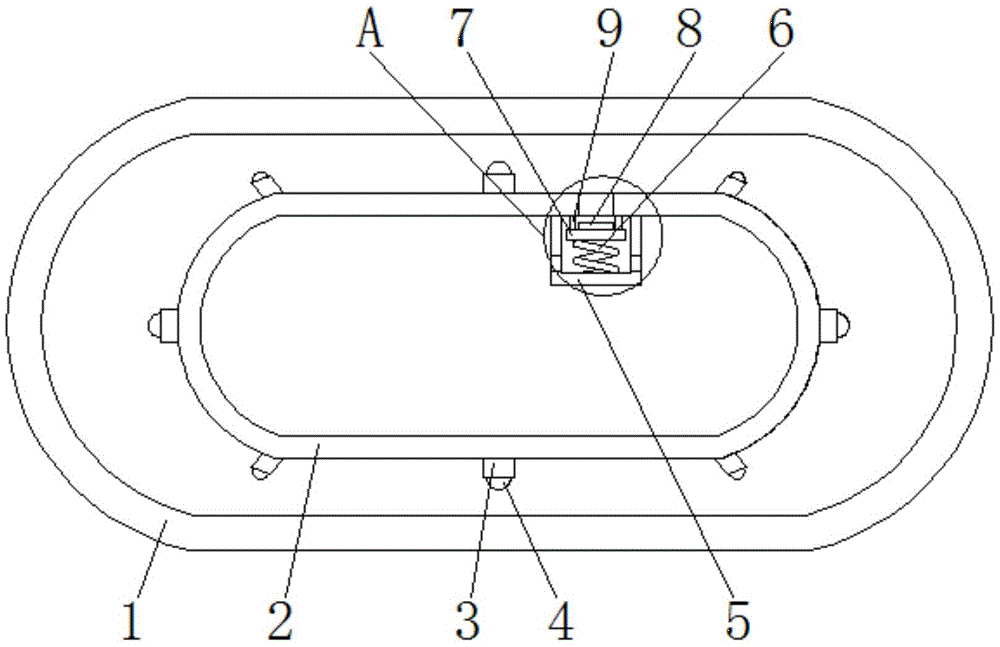
本实用新型涉及医学检测技术领域,且公开了一种用于肠道微生物检测的采集胶囊,包括外胶囊,外胶囊的内腔中部活动套装有内胶囊,所述内胶囊的外部固定连接有连接杆,且连接杆均匀分布在内胶囊的外表面,所述连接杆远离内胶囊的一端活动套装有滚珠,所述内胶囊内腔顶端的一侧固定连接有套筒,所述套筒内腔底端的中部固定连接有弹簧的一端,所述弹簧的另一端固定连接有挡板,所述挡板远离弹簧一端的中部固定连接有密封圈。该用于肠道微生物检测的采集胶囊,通过内胶囊、套筒、弹簧、挡板、密封圈以及支撑杆的配合使用,使得该用于肠道微生物检测的采集胶囊能够采集到肠道中的液体和微生物用来医学研究。  

返回首页 | 品牌大全 | 品牌排行 | 品牌问答 | 品牌资讯 | 品牌价值 | 关于我们 | 联系我们 | 免责声明

Copyright 2013-2020 品牌门户,牌子123(www.paizi123.cn) 版权所有 备案号:苏ICP备13009020号-7

网站地图