专利状态
横向减振支架
专利申请进度
申请
2019-03-21
授权
2019-12-06
预估到期
2029-03-21
专利基础信息
申请号 申请日
授权公布号 授权公告日
分类号
分类
申请人名称 成都汇多丽声学装饰材料有限公司
申请人地址
专利法律状态
  • 2019-12-06
    授权
    状态信息
    授权
摘要
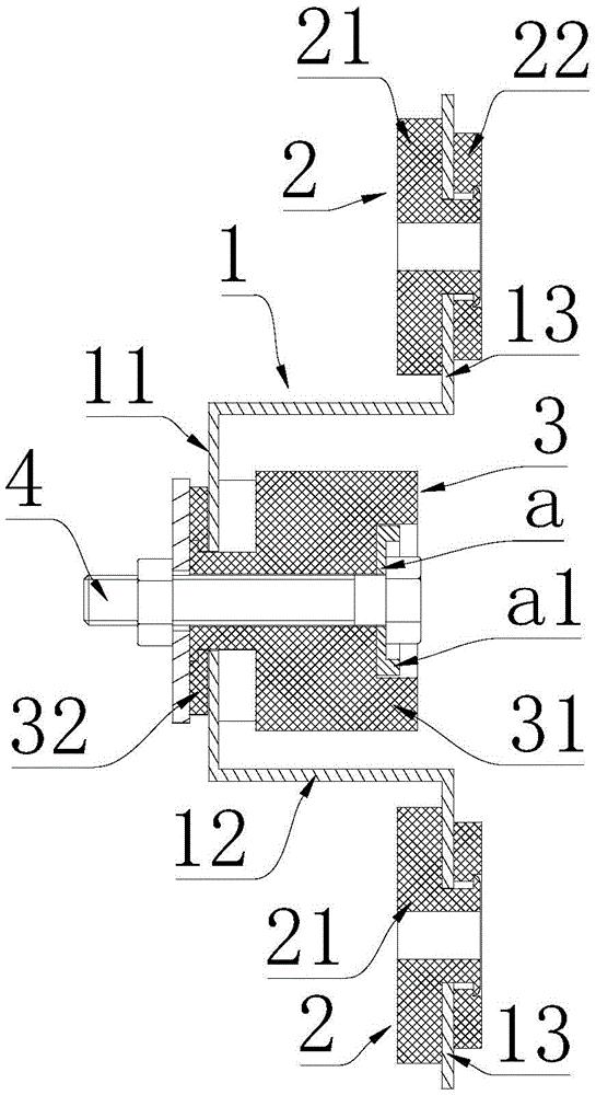
本实用新型涉及一种横向减振支架,包括一刚性的支承架,支承架呈几字形结构,支承架包括一纵向延伸的上盖板、两片横向延伸的腹板及两片纵向延伸的下翼板,上盖板上设置横向延伸的盖板安装孔,各翼板安装孔均分别卡接配合第一工字胶圈,第一工字胶圈包括第一胶圈本体和第一环状胶圈,第一胶圈本体的轴颈与翼板安装孔配合,第二工字胶圈包括一第二胶圈本体,第二胶圈本体的轴颈与盖板安装孔配合,第二工字胶圈的中心通孔中配合一连接螺栓,连接螺栓的两端分别伸出第二工字胶圈,连接螺栓两端套装有用于夹紧第二工字胶圈的刚性垫圈,连接螺栓将第二工字胶圈和刚性垫圈拉紧固定在上盖板上。

返回首页 | 品牌大全 | 品牌排行 | 品牌问答 | 品牌资讯 | 品牌价值 | 关于我们 | 联系我们 | 免责声明

Copyright 2013-2020 品牌门户,牌子123(www.paizi123.cn) 版权所有 备案号:苏ICP备13009020号-7

网站地图