专利状态
一种双滑轮组结构
专利申请进度
申请
2019-09-26
授权
2020-08-04
预估到期
2029-09-26
专利基础信息
申请号 申请日
授权公布号 授权公告日
分类号
分类
申请人名称 中山市华尔门洁具有限公司
申请人地址
专利法律状态
  • 2020-08-04
    授权
    状态信息
    授权
摘要
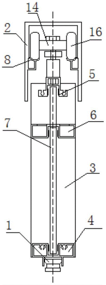
本实用新型属于推拉门领域,尤其是一种双滑轮组结构,针对现有的推拉门的滑轮不便于拆卸,后期维护成本高的问题,现提出如下方案,其包括导向轮,所述导向轮的上方设有上梁,上梁和导向轮之间设有同一个门扇,门扇的顶侧延伸至上梁内,门扇的底侧固定安装有门下材,门下材与导向轮相适配,门下材的上方设有位于门扇上的门侧材,门侧材的上方设有固定安装在门扇顶侧的门上材,门上材位于上梁内,本实用新型中,当滑轮需要更换时,不用拆下双轨道型材,转动固定螺母使其与旋转螺母相分离后,转动旋转螺母即可带动滑轮移出轨道,即可取下门扇,方便地更换或维修滑轮组,不需设置天花板,更不用预留维修孔。  

返回首页 | 品牌大全 | 品牌排行 | 品牌问答 | 品牌资讯 | 品牌价值 | 关于我们 | 联系我们 | 免责声明

Copyright 2013-2020 品牌门户,牌子123(www.paizi123.cn) 版权所有 备案号:苏ICP备13009020号-7

网站地图