专利状态
一种带电磁屏蔽功能的电磁干扰成像仪
专利申请进度
申请
2017-12-11
授权
2018-06-19
预估到期
2027-12-11
专利基础信息
申请号 申请日
授权公布号 授权公告日
分类号
分类
申请人名称 北京海洋兴业科技股份有限公司
申请人地址
专利法律状态
  • 2018-06-19
    授权
    状态信息
    授权
摘要
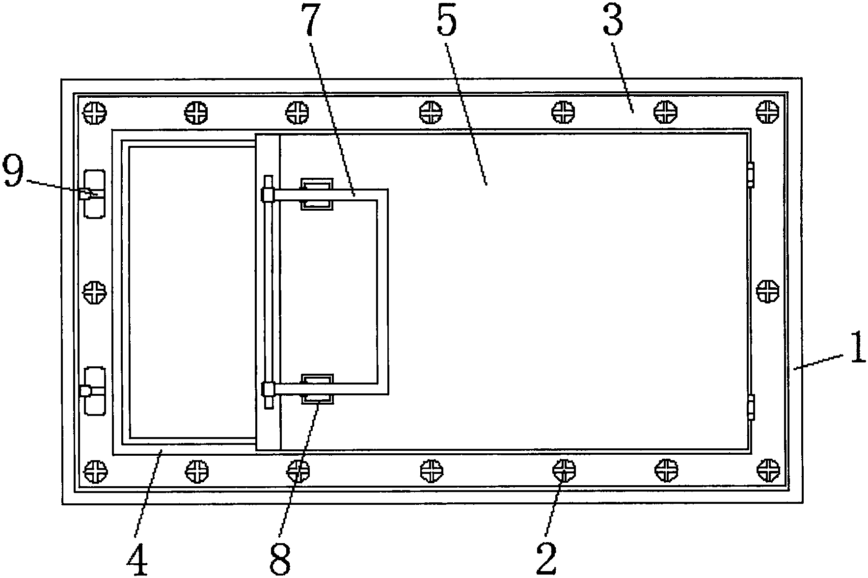
本实用新型公开了一种带电磁屏蔽功能的电磁干扰成像仪,包括金属铝箱体,所述金属铝箱体的外壁通过螺丝螺纹连接有门框,并且门框的表面与金属铝箱体之间设置有第一电磁屏蔽衬垫,所述门框的一侧铰接有电磁屏蔽门,并且电磁屏蔽门的内壁固定连接有铜指簧,所述金属铝箱体外壁的一侧通过螺丝螺纹连接有蜂窝式波导窗,并且蜂窝式波导窗的表面与金属铝箱体之间设置有第二电磁屏蔽衬垫,所述蜂窝式波导窗的表面固定连接有风扇,本实用新型涉及电磁屏蔽技术领域。该带电磁屏蔽功能的电磁干扰成像仪,解决了环境电磁干扰对测试设备的影响,摆脱了环境对电磁干扰测试设备的限制,大大提高了测试效率,保证测试数据的准确性。

返回首页 | 品牌大全 | 品牌排行 | 品牌问答 | 品牌资讯 | 品牌价值 | 关于我们 | 联系我们 | 免责声明

Copyright 2013-2020 品牌门户,牌子123(www.paizi123.cn) 版权所有 备案号:苏ICP备13009020号-7

网站地图