专利状态
一种手风琴琴键及其安装结构
专利申请进度
申请
2020-08-04
授权
2021-05-14
预估到期
2030-08-04
专利基础信息
申请号 申请日
授权公布号 授权公告日
分类号
分类
申请人名称 天津华韵乐器有限公司
申请人地址
专利法律状态
  • 2021-05-14
    授权
    状态信息
    授权
摘要
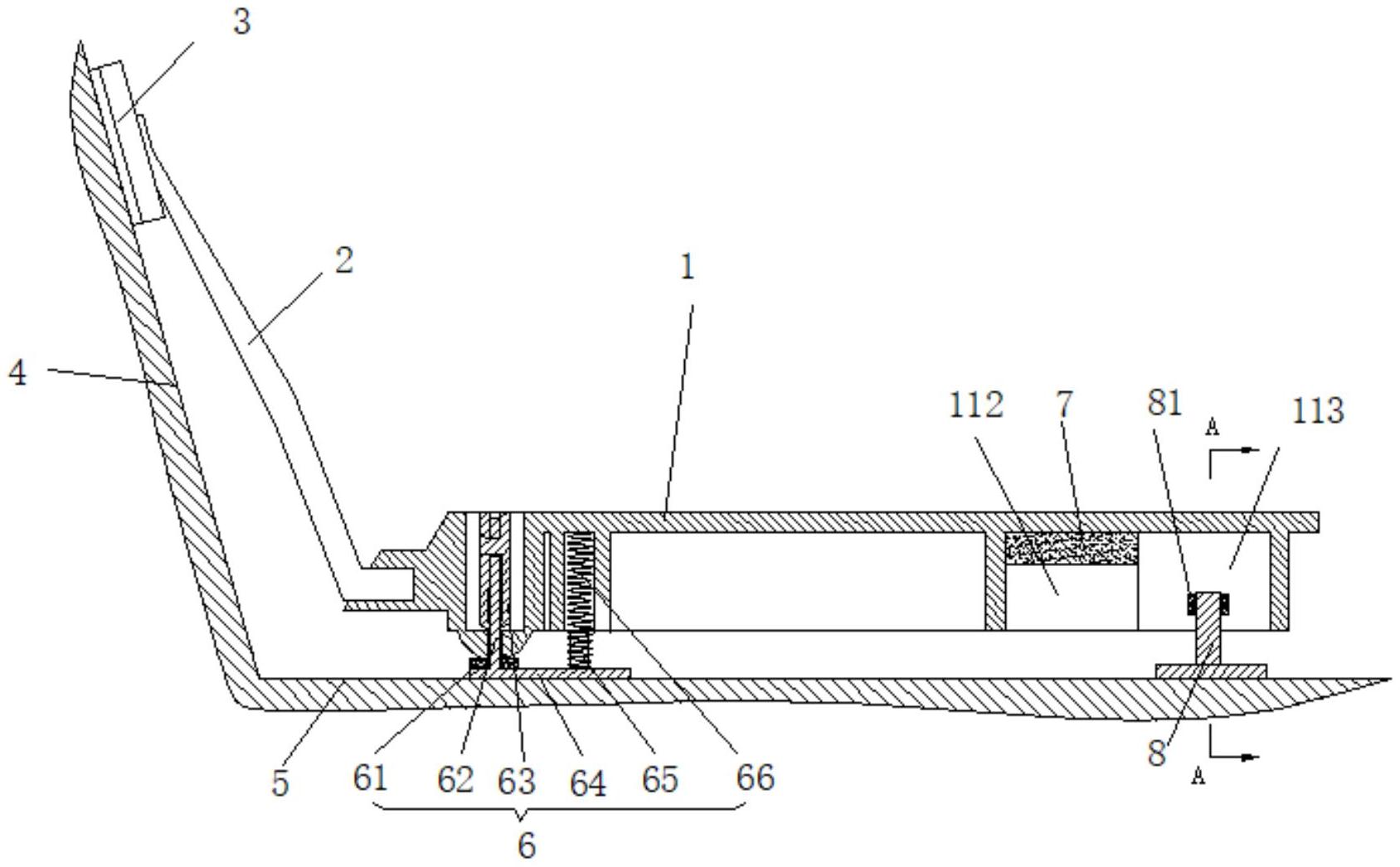
本实用新型提供了一种手风琴琴键及其安装结构,其中手风琴琴键包括键杆,及其前端一体成型设置的安装部,及键杆前端底部设置的底座,及键杆设置的安装槽,及底座开设的和安装槽连通的、条形的限位孔。该琴键安装结构包括手风琴旋律键钮板前端设置的、和所述琴键本体对应的定位机构,以及其后端设置的弹奏按压该琴键本体的导向机构。本实用新型所述的一种手风琴琴键及其安装结构中,通过卡接件将定位柱和琴键本体位置快速锁定,同时在音孔板‑音孔盖、弹簧共同作用下,琴键本体只能绕卡接件最底端上下摆动,实现琴键本体快速定位安装,便于装配人员组装,提高生产效率。

返回首页 | 品牌大全 | 品牌排行 | 品牌问答 | 品牌资讯 | 品牌价值 | 关于我们 | 联系我们 | 免责声明

Copyright 2013-2020 品牌门户,牌子123(www.paizi123.cn) 版权所有 备案号:苏ICP备13009020号-7

网站地图