专利状态
一种空气过滤网生产用打折机
专利申请进度
申请
2020-09-27
授权
2021-06-22
预估到期
2030-09-27
专利基础信息
申请号 申请日
授权公布号 授权公告日
分类号
分类
申请人名称 艾德加环境科技(苏州)有限公司
申请人地址
专利法律状态
  • 2021-06-22
    授权
    状态信息
    授权
摘要
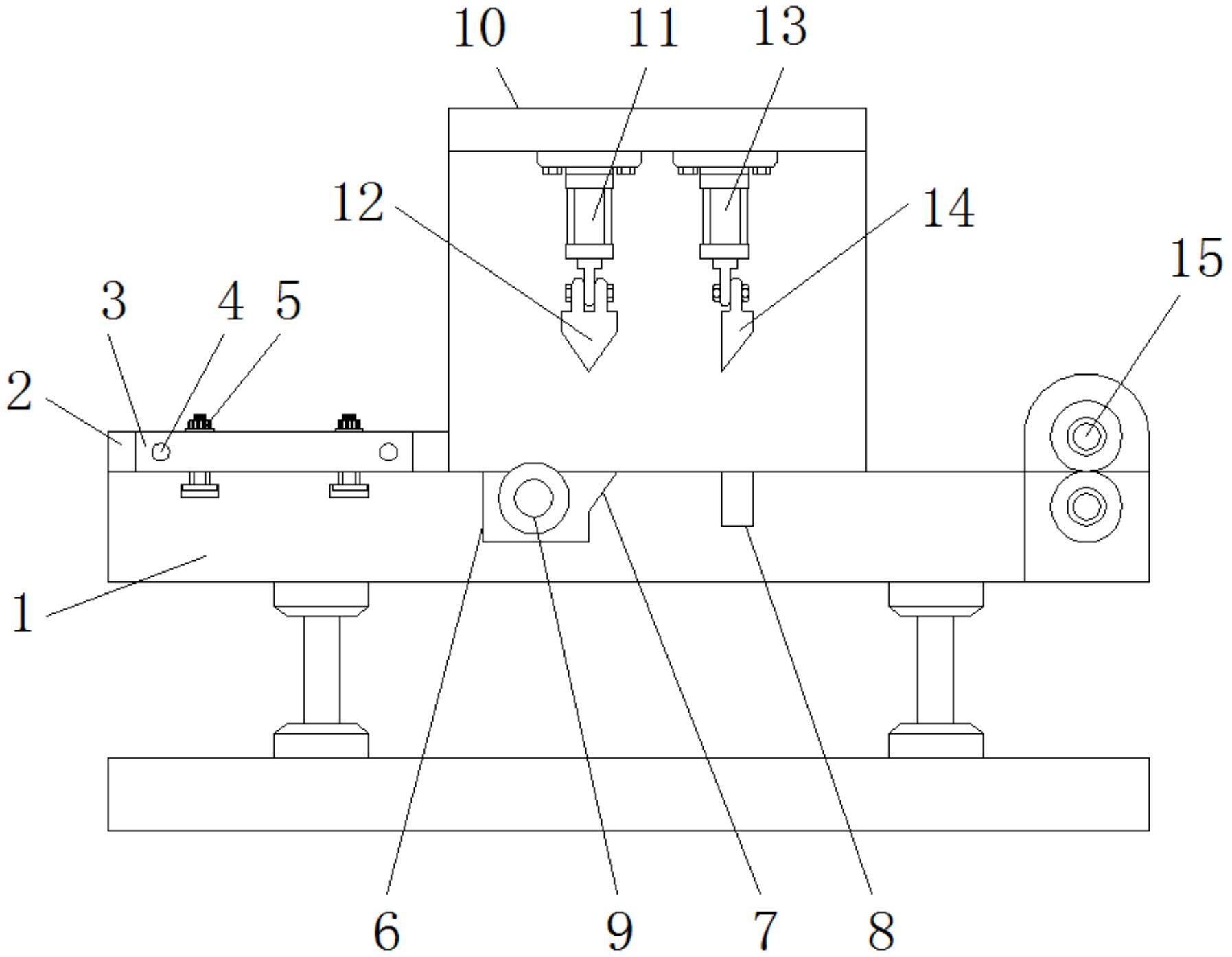
本实用新型公开了一种空气过滤网生产用打折机,包括加工台和支撑座,所述加工台的上方前后凸边,且加工台的上端设置有限位板,所述限位板的左右两端均穿设有导杆,且限位板的上方左右两端均安装有螺栓,所述加工台的内部从左到右依次设置有安装槽、打折槽和剪切槽,所述支撑座位于加工台的上端,所述第一液压杆的下端安装有打折模具,所述第二液压杆的下端设置有剪切刀,所述加工台的右端安装有输出轮。该空气过滤网生产用打折机,与现有的普通打折机相比,增加结构的同时大大提高了整个打折机的使用性能,改良后的打折机内部拥有便于对空气过滤网进行压折结构,并且拥有对空气过滤网剪切结构,有效满足了人们的使用需求。

返回首页 | 品牌大全 | 品牌排行 | 品牌问答 | 品牌资讯 | 品牌价值 | 关于我们 | 联系我们 | 免责声明

Copyright 2013-2020 品牌门户,牌子123(www.paizi123.cn) 版权所有 备案号:苏ICP备13009020号-7

网站地图