专利状态
一种苏打水机和苏打水机的管理系统
专利申请进度
申请
2020-07-02
授权
2021-02-02
预估到期
2030-07-02
专利基础信息
申请号 申请日
授权公布号 授权公告日
分类号
分类
申请人名称 佛山市顺德区四度科技有限公司
申请人地址
专利法律状态
  • 2021-02-02
    授权
    状态信息
    授权
摘要
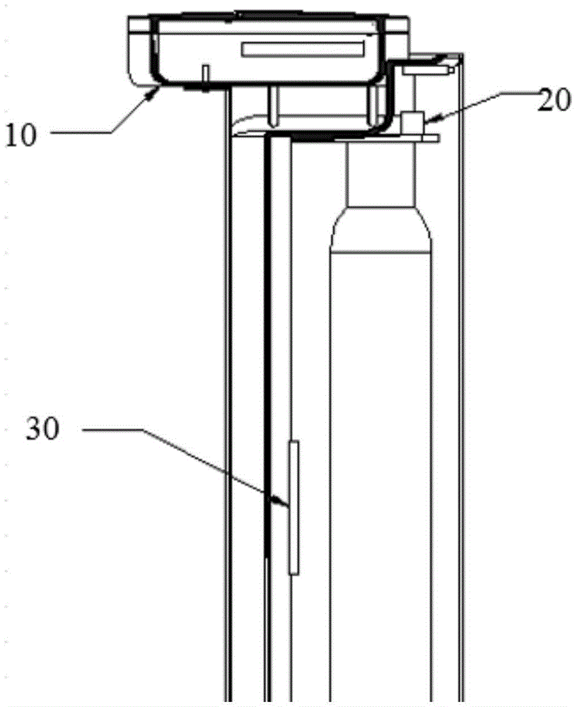
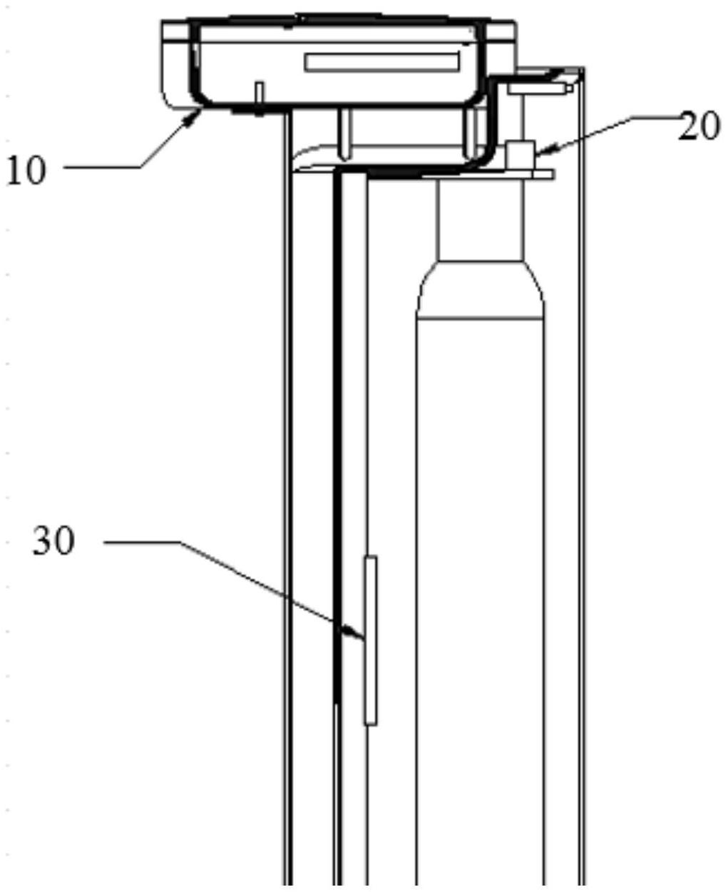
本申请涉及一种苏打水机和苏打水机的管理系统。其中,苏打水机包括升降组件、出气触发设备、显示灯板和控制主板;升降组件用于控制出气口开度,出气触发设备设于升降组件的运行轨迹上,在升降组件移动并触发出气触发设备时,分别连接所述显示灯板和所述出气触发设备的控制主板指示显示灯板的不同LED灯依次点亮,通过确认点亮的LED灯,可以明确当前已出气的二氧化碳的总量,相较于传统采用流量表等传感器去获取二氧化碳的出气总量,本申请具有更好的显示效果以及更低的成本。  

返回首页 | 品牌大全 | 品牌排行 | 品牌问答 | 品牌资讯 | 品牌价值 | 关于我们 | 联系我们 | 免责声明

Copyright 2013-2020 品牌门户,牌子123(www.paizi123.cn) 版权所有 备案号:苏ICP备13009020号-7

网站地图