专利状态
一种用于保健茶的内外袋包装机的外袋成型器
专利申请进度
申请
2022-08-03
授权
2022-12-13
预估到期
2032-08-03
专利基础信息
申请号 申请日
授权公布号 授权公告日
分类号
分类
申请人名称 安远县珊瑚食品发展有限公司
申请人地址
专利法律状态
  • 2022-12-13
    授权
    状态信息
    授权
摘要
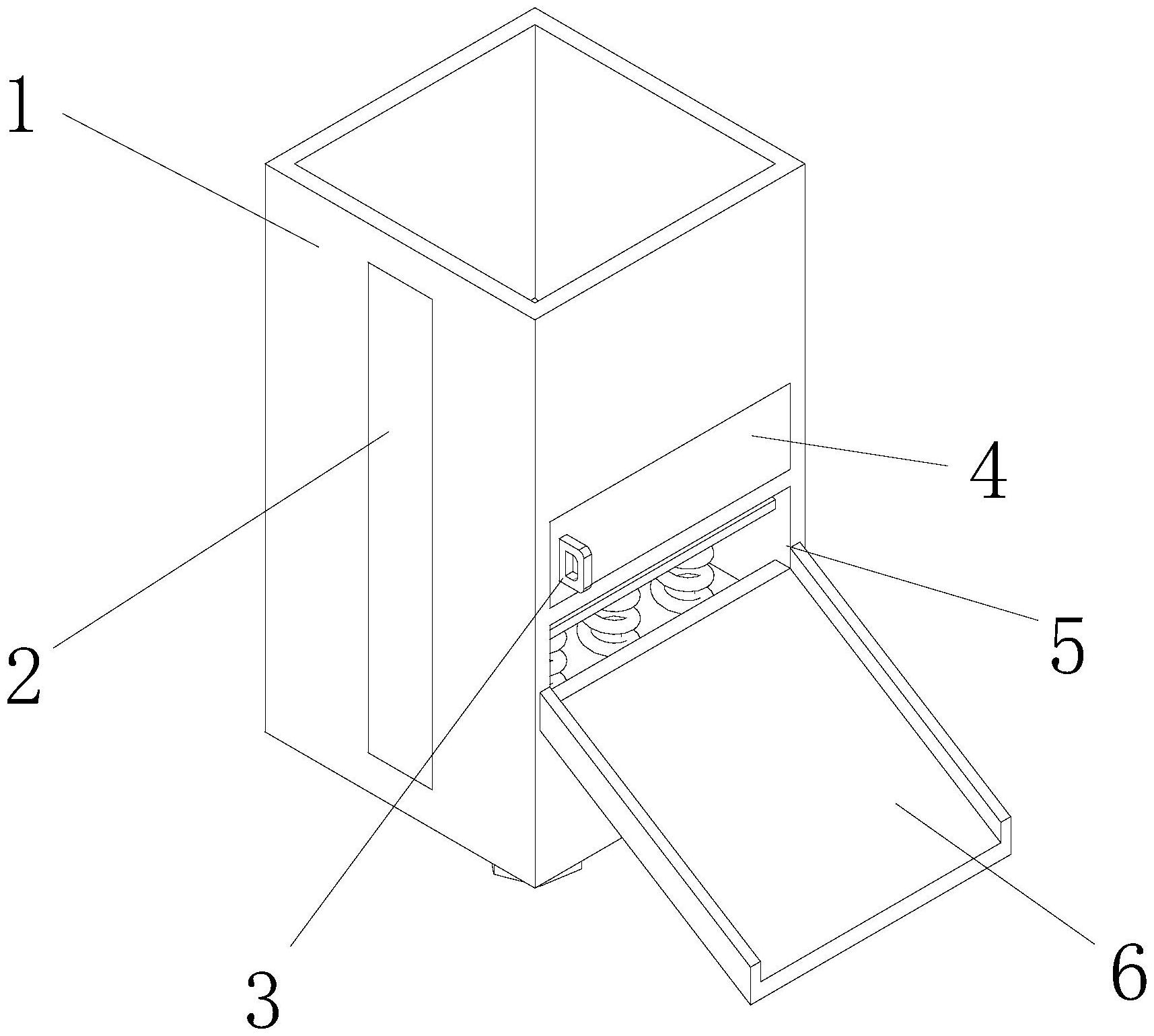
本实用新型公开了一种用于保健茶的内外袋包装机的外袋成型器,涉及保健茶技术领域,包括输送壳体,所述输送壳体的内壁设置有固定板,所述固定板的顶部固定连接有多个承重弹簧,所述承重弹簧的顶部固定连接有支撑板,所述输送壳体的一侧开有第一出料口和第二出料口,所述第二出料口位于第一出料口上方,所述第二出料口的一侧铰接有活动门,所述活动门的一端一侧处固定连接有把手。本实用新型其优点在于便于对内袋中茶叶数量较少和无茶叶的产品进行分离。

返回首页 | 品牌大全 | 品牌排行 | 品牌问答 | 品牌资讯 | 品牌价值 | 关于我们 | 联系我们 | 免责声明

Copyright 2013-2020 品牌门户,牌子123(www.paizi123.cn) 版权所有 备案号:苏ICP备13009020号-7

网站地图