专利状态
一种带有散热组件的高安全性能的发热桌垫
专利申请进度
申请
2019-04-24
申请公布
2019-07-23
授权
2020-12-01
预估到期
2039-04-24
专利基础信息
申请号 申请日
授权公布号 授权公告日
分类号
分类
申请人名称 宁波昕科工贸有限公司
申请人地址
专利法律状态
  • 2020-12-01
    授权
    状态信息
    授权
  • 2019-08-16
    实质审查的生效
    状态信息
    实质审查的生效;IPC(主分类):A47G 11/00;专利申请号:2019103348851;申请日:20190424
  • 2019-07-23
    发明专利申请公布
    状态信息
    公布
摘要
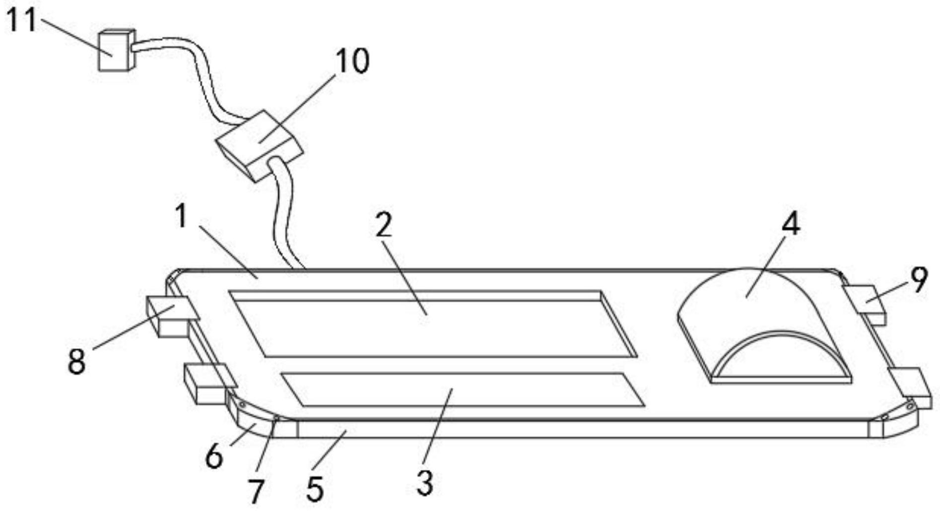
本发明公开了一种带有散热组件的高安全性能的发热桌垫,包括桌垫主体,所述桌垫主体的顶端开设有定位槽,且桌垫主体的顶端内侧靠定位槽的嵌入安装有腕部调节垫。本发明通过设置定位槽配合散热腔,能够有效的防止在使用发热桌垫时桌垫的热量对键盘使用的影响,能够较好的对键盘进行热量隔离,避免温度过高导致键盘失灵的情况出现,且设置有腕部调节垫随着电热丝加热可以在使用时有效的缓解使用者腕部的疲劳,设置保温套能够在气温较低时对使用者手部进行保温,且有效的避免温度过高对鼠标使用的干扰,设置卡座与对接座可以方便对桌垫进行折叠收纳,且保证桌垫在折叠之后不会松散,避免了直接将桌垫卷起收纳导致桌垫侧边变弯不能复位的情况出现。  

返回首页 | 品牌大全 | 品牌排行 | 品牌问答 | 品牌资讯 | 品牌价值 | 关于我们 | 联系我们 | 免责声明

Copyright 2013-2020 品牌门户,牌子123(www.paizi123.cn) 版权所有 备案号:苏ICP备13009020号-7

网站地图