专利状态
双向发声扬声器及音箱设备
专利申请进度
申请
2017-02-15
授权
2017-08-15
预估到期
2027-02-15
专利基础信息
申请号 申请日
授权公布号 授权公告日
分类号
分类
申请人名称 微鲸科技有限公司
申请人地址
专利法律状态
  • 2017-08-15
    授权
    状态信息
    授权
摘要
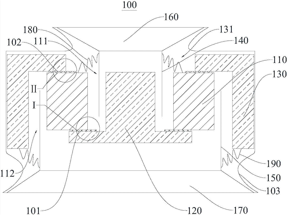
本实用新型提供一种双向发声扬声器及音箱设备。所述双向发声扬声器包括磁铁、第一导磁体、第二导磁体、第一音圈、第二音圈、第一振膜及第二振膜。磁铁的一端磁极与第一导磁体连接,磁铁与第一导磁体之间形成第一磁间隙。磁铁的另一端磁极与第二导磁体连接,磁铁与第二导磁体之间形成第二磁间隙。第一磁间隙的开口朝向与第二磁间隙的开口朝向相反。第一音圈的一端设置在第一磁间隙内,另一端与第一振膜连接。第二音圈的一端设置在第二磁间隙内,另一端与第二振膜连接。所述双向发声扬声器结构简单、成本较低、频率响应范围广,结合内磁设计和外磁设计的优势,提高了频率响应的范围,降低了噪声产生的概率,保证了用户的体验。

返回首页 | 品牌大全 | 品牌排行 | 品牌问答 | 品牌资讯 | 品牌价值 | 关于我们 | 联系我们 | 免责声明

Copyright 2013-2020 品牌门户,牌子123(www.paizi123.cn) 版权所有 备案号:苏ICP备13009020号-7

网站地图