专利状态
一种用于小米储存的表面除灰装置
专利申请进度
申请
2021-01-07
授权
2021-11-09
预估到期
2031-01-07
专利基础信息
申请号 申请日
授权公布号 授权公告日
分类号
分类
申请人名称 沁县吴阁老土特产有限公司
申请人地址
专利法律状态
  • 2021-11-09
    授权
    状态信息
    授权
摘要
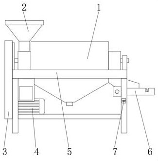
本实用新型公开了一种用于小米储存的表面除灰装置,包括除尘机构,所述除尘机构的上端设置有料斗,所述除尘机构的一侧外表面活动连接有传动机构。本实用新型所述的一种用于小米储存的表面除灰装置,该一种用于小米储存的表面除灰装置,通过设置的活动储存袋套件,使得人们可将储存布袋套在活动储存袋套件上进行收取加工完成的小米,活动储存袋套件通过限位扣进行固定,活动储存袋套件设计为可活动模式,减轻工作人员的劳动力,提高工作效率,该一种用于小米储存的表面除灰装置,通过设置的限位扣,便于活动储存袋套件的收放,限位块则对弹簧内杆起到一定的限位作用,操作便捷,给人们带来很好的使用前景。

返回首页 | 品牌大全 | 品牌排行 | 品牌问答 | 品牌资讯 | 品牌价值 | 关于我们 | 联系我们 | 免责声明

Copyright 2013-2020 品牌门户,牌子123(www.paizi123.cn) 版权所有 备案号:苏ICP备13009020号-7

网站地图