专利状态
一种肉制品风干用晾晒支架
专利申请进度
申请
2021-05-31
授权
2022-01-04
预估到期
2031-05-31
专利基础信息
申请号 申请日
授权公布号 授权公告日
分类号
分类
申请人名称 上海天容肉制品集团有限公司
申请人地址
专利法律状态
  • 2022-01-04
    授权
    状态信息
    授权
摘要
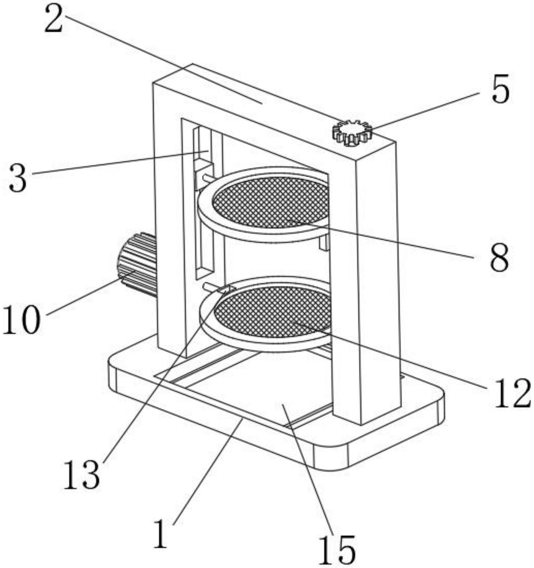
本实用新型提供一种肉制品风干用晾晒支架,属于晾晒支架技术领域,本实用新型,它是由底座、U型支架、滑槽、螺纹杆、转轮、滑块、连接杆、第一第一晾晒网、卡块、电机、转杆、第二晾晒网和卡槽构成,滑块的表面转动连接有连接杆,连接杆远离滑块的一端固定安装有第一晾晒网,第一晾晒网的底部表面固定安装有两个卡块,U型支架的侧面固定安装有电机,电机的输出端转动连接有转杆,转杆的表面固定安装有第二晾晒网,第二晾晒网的顶部表面固定安装有两个卡槽。本实用新型,解决了现有的肉制品风干用晾晒支架,在给肉制品晾晒时,需要人工手动给肉制品进行翻面,这种操作方法一方面导致晾晒不均匀。另一方面也导致晾晒过程效率低下的问题。

返回首页 | 品牌大全 | 品牌排行 | 品牌问答 | 品牌资讯 | 品牌价值 | 关于我们 | 联系我们 | 免责声明

Copyright 2013-2020 品牌门户,牌子123(www.paizi123.cn) 版权所有 备案号:苏ICP备13009020号-7

网站地图