专利状态
一种碰锁式折叠机构及电动滑板车
专利申请进度
申请
2023-07-03
授权
2024-01-30
预估到期
2033-07-03
专利基础信息
申请号 申请日
授权公布号 授权公告日
分类号
分类
申请人名称 英凡蒂(北京)科技有限公司
申请人地址
专利法律状态
  • 2024-01-30
    授权
    状态信息
    授权
摘要
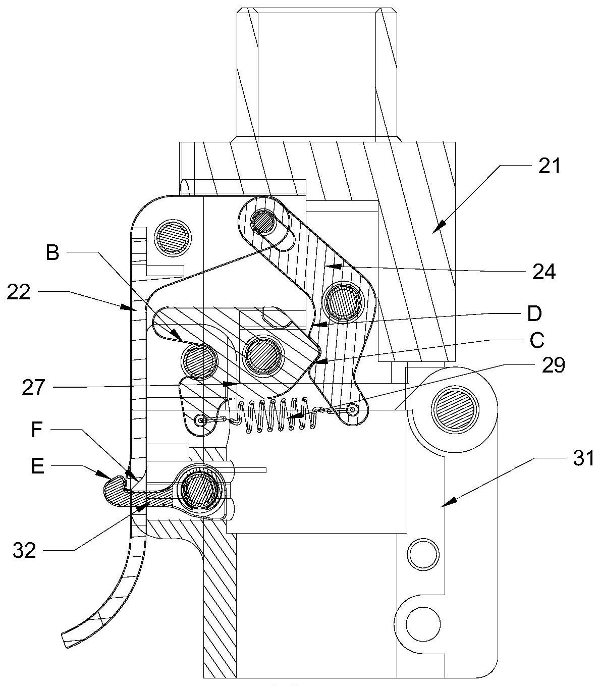
本实用新型提供了一种碰锁式折叠机构及电动滑板车,涉及电动滑板车技术领域,以解决现有技术中凸轮式折叠机构在锁紧时操作复杂、费力的问题,该碰锁式折叠机构包顶座组件和底座组件,顶座组件包括顶座、摆杆和锁紧机构,锁紧机构和摆杆均连接于顶座上,且摆杆的底端在顶座的外侧向下延伸设置,底座组件包括底座和锁舌机构,锁舌机构连接于底座上,在底座的上端设置有锁轴,锁紧机构与摆杆的上端连接,在折叠机构变为锁紧状态时锁紧机构与锁轴扣合并拉动摆杆使摆杆的下端与锁舌组件卡接。本实用新型的碰锁式折叠机构实现立管与头管的自动扣合锁紧,整个过程无需手动操作摆杆,操作简单省力。

返回首页 | 品牌大全 | 品牌排行 | 品牌问答 | 品牌资讯 | 品牌价值 | 关于我们 | 联系我们 | 免责声明

Copyright 2013-2020 品牌门户,牌子123(www.paizi123.cn) 版权所有 备案号:苏ICP备13009020号-7

网站地图