专利状态
氛围灯模组及滑板车
专利申请进度
申请
2023-08-25
授权
2024-03-22
预估到期
2033-08-25
专利基础信息
申请号 申请日
授权公布号 授权公告日
分类号
分类
申请人名称 英凡蒂(北京)科技有限公司
申请人地址
专利法律状态
  • 2024-03-22
    授权
    状态信息
    授权
摘要
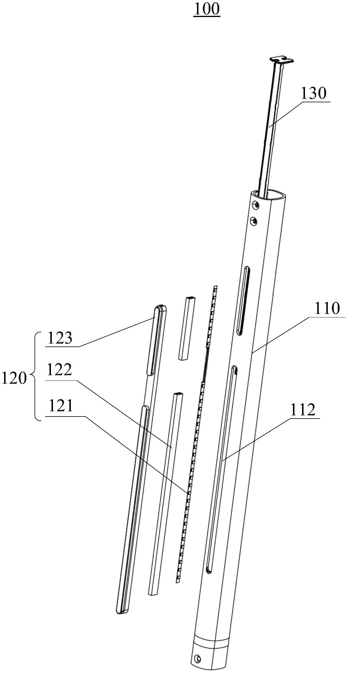
本公开实施例提供一种氛围灯模组及滑板车,氛围灯模组包括管体、灯体组件和预紧组件,管体内设置有沿其长度方向的安装腔,管体的侧壁设置有至少一个通槽;灯体组件插设于安装腔并卡设于通槽;预紧组件插设于安装腔并与灯体组件抵接,以对灯体组件进行预紧。通过设置预紧组件对灯体组件进行预紧,可以使灯体组件不会塌陷;另外,预紧组件插设于安装腔并与灯体组件抵接,灯体组件的安装无需螺钉,一方面装配简单,提高生产效率,另一方面使氛围灯模组的整体更简洁美观。

返回首页 | 品牌大全 | 品牌排行 | 品牌问答 | 品牌资讯 | 品牌价值 | 关于我们 | 联系我们 | 免责声明

Copyright 2013-2020 品牌门户,牌子123(www.paizi123.cn) 版权所有 备案号:苏ICP备13009020号-7

网站地图